Product Summary
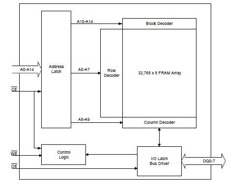
The FM18L08-70SG is a 256Kb bytewide FRAM memory.
Parametrics
FM18L08-70SG absolute maximum ratings: (1)VDD Power Supply Voltage with respect to VSS: -1.0V to +5.0V; (2)VIN Voltage on any signal pin with respect to VSS: -1.0V to +5.0V and VIN < VDD+1V; (3)TSTG Storage temperature: -55℃ to +125℃; (4)TLEAD Lead temperature (Soldering, 10 seconds): 300℃; (5)VESD Electrostatic Discharge Voltage - Human Body Model (JEDEC Std JESD22-A114-B): 4kV; Machine Model (JEDEC Std JESD22-A115-A): 400V.
Features
FM18L08-70SG features: (1)Organized as 32,768 x 8 bits; (2)45 year Data Retention; (3)Unlimited Read/Write Cycles; (4)NoDelayWrites; (5)Advanced High-Reliability Ferroelectric Process; (6)No Battery Concerns; (7)Monolithic Reliability; (8)True Surface Mount Solution, No Rework Steps; (9)Superior for Moisture, Shock, and Vibration; (10)Resistant to Negative Voltage Undershoots.
Diagrams

(China (Mainland))






