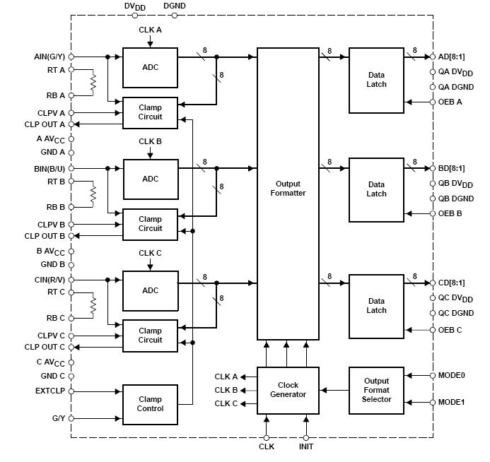
Product Summary
The TLV5734PAG is a triple 8-bit converter with high-precision clamp for digitizing video signals in RGB or YUV color spaces. The device supports pixel rates up to 30 MSPS. The TLV5734PAG is powered from a single 3.3-V supply. Separate clamping levels are provided for the RGB and YUV analog component video inputs. The clamp timing window is provided by an external pulse. The output-data formatter selects from output formats of 4:4:4, 4:1:1, and 4:2:2. For RGB applications, the 4:4:4 output formats with clamp can be used. The TLV5734PAG is characterized for operation from –20℃ to 75℃. The applications of the TLV5734PAG include Digital TV, Digital Video, Multimedia, Video Capture, Video Editing, and Security Applications.
Parametrics
TLV5734PAG absolute maximum ratings: (1)Supply voltage, VCC, VDD: -0.3 V to 3.6 V; (2)Reference voltage input range: Vref(RT A), Vref(RT B), Vref(RT C), Vref(RB A), Vref(RB B), Vref(RB C): -0.3 V to VCC +0.3 V; (3)Analog input voltage range: -0.3 V to VCC +0.3 V; (4)Digital input voltage range, VI: -0.3 V to 3.6 V; (5)Digital output voltage range, VO: -0.3 V to VCC +0.3 V; (6)Operating free-air temperature range, TA: -20℃ to 75℃; (7)Storage temperature range, Tstg: -55℃ to 150℃.
Features
TLV5734PAG features: (1)3-Channel CMOS ADC; (2)Single 3.3-V Supply; (3)8-Bit 30-MSPS A/D Conversion; (4)Very Low Power: <300mW Typical; (5)Differential Linearity Error: <±0.5 LSB Max; (6)Integral Linearity Error: <±0.75 LSB Max; (7)Analog Input Voltage Range: 1 Vpp Max; (8)64-Pin Thin QFP Package; (9)Analog Input Bandwidth: >130 MHz; (10)Selectable Clamping Function for YUV or RGB Applications; (11)High-Precision Clamp: ±0.5 LSB; (12)Selectable Output Data Format for 4:4:4 (RGB, YUV), 4:2:2 and 4:1:1 (YUV) Format; (13) NTSC or PAL Compliant.
Diagrams

| Image | Part No | Mfg | Description | ![]() |
Pricing (USD) |
Quantity | ||||
|---|---|---|---|---|---|---|---|---|---|---|
![]() |
![]() TLV5734PAG |
![]() Texas Instruments |
![]() Video A/D Converter ICs 8B 30MSPS ADC Triple Ch Digital Clamp |
![]() Data Sheet |
![]() Negotiable |
|
||||
![]() |
![]() TLV5734PAGG4 |
![]() Texas Instruments |
![]() Video A/D Converter ICs 8B 30 MSPS ADC 3Ch |
![]() Data Sheet |
![]() Negotiable |
|
||||
(China (Mainland))









