Product Summary
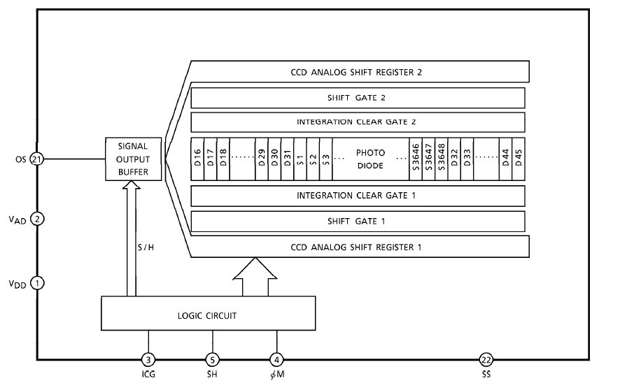
The TCD1304 is a high sensitive and low dark current 3648-elements linear image sensor.
Parametrics
TCD1304 absolute maximum ratings: (1)Master clock pulse voltage: -0.3 to 7V; (2)Digital power supply: -0.3 to 7V; (3)Analog power supply: -0.3 to 7V; (4)Operating Temperature: -25 to 60℃; (5)Storage Temperature: -40 to 100 ℃.
Features
TCD1304 features: (1) Pixel Number: 3648; (2) pixel size: 8μm×200μm; (3) Photo sensing region; (4) Internal circuit: CCD drive circuit; (5) Power supply: only 3.0V drive; (6) Function: Electronic Shutter sample and hold circuit.
Diagrams

| Image | Part No | Mfg | Description | ![]() |
Pricing (USD) |
Quantity | ||||
|---|---|---|---|---|---|---|---|---|---|---|
![]() |
![]() TCD1304AP |
![]() Other |
![]() |
![]() Data Sheet |
![]() Negotiable |
|
||||
![]() |
![]() TCD1304DG |
![]() Other |
![]() |
![]() Data Sheet |
![]() Negotiable |
|
||||
(China (Mainland))









