Product Summary
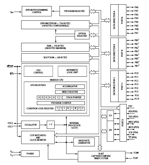
The MC68HC705H12CFN is an 8-bit microcontroller unit (MCU). The MC68HC705H12CFN is an enhanced, high-speed version of the MC68HC705C8A. The MC68HC705H12CFN is based on the customer-specified integrated circuit (CSIC) design strategy. All MCUs in the family use the M68HC05 central processor unit (CPU) and are available with a variety of subsystems, memory sizes and types, and package types.
Parametrics
MC68HC705H12CFN absolute maximum ratings: (1)Supply voltage VDD:–0.3 to +7.0 V; (2)Input voltage VIn: VSS–0.3 to VDD +0.3V; (3)Programming voltage VPP: VDD–0.3 to 16.0V; (4)Bootstrap mode (IRQ pin only) VIn: VSS–0.3 to 2×VDD + 0.3V; (5)Current drain per pin excluding VDD and VSS: 25mA; (6)Storage temperature range TSTG:–65℃ to +150℃.
Features
MC68HC705H12CFN features: (1)M68HC05 central processor unit (CPU); (2)On-chip oscillator with crystal/ceramic resonator; (3)Memory-mapped input/output (I/O); (4)Selectable memory configurations; (5)Selectable programmable and/or non-programmable computer operating properly (COP) watchdog timers; (6)Selectable port B external interrupt capability; (7)Clock monitor; (8)High current drive on pin C7 (PC7); (9)24 bidirectional I/O lines and 7 input-only lines; (10)Serial communications interface (SCI) system; (11)Serial peripheral interface (SPI) system; (12)Bootstrap capability; (13)Power-saving stop, wait, and data-retention modes; (14)Single 3.0-volt to 5.5-volt supply (2-volt data-retention mode); (15)Fully static operation; (16)Software-programmable external interrupt sensitivity; (17)Bidirectional RESET pin.
Diagrams

![]() |
![]() MC6800 |
![]() Other |
![]() |
![]() Data Sheet |
![]() Negotiable |
|
||||
![]() |
![]() MC6801 |
![]() Other |
![]() |
![]() Data Sheet |
![]() Negotiable |
|
||||
![]() |
![]() MC68020 |
![]() Other |
![]() |
![]() Data Sheet |
![]() Negotiable |
|
||||
![]() |
![]() MC68020CEH16E |
![]() Freescale Semiconductor |
![]() Microprocessors (MPU) 32-BIT MPU |
![]() Data Sheet |
![]() Negotiable |
|
||||
![]() |
![]() MC68020CEH25E |
![]() Freescale Semiconductor |
![]() Microprocessors (MPU) 32-BIT MPU |
![]() Data Sheet |
![]() Negotiable |
|
||||
![]() |
![]() MC68020CRC16E |
![]() Freescale Semiconductor |
![]() Microprocessors (MPU) 32-BIT MPU |
![]() Data Sheet |
![]() Negotiable |
|
||||
(China (Mainland))









