Product Summary
The LQ106K1LA03 is a color active matrix LCD module incorporating amorphous silicon TFT (Thin Film Transistor). The LQ106K1LA03 is composed of a color TFT-LCD panel, driver ICs, control circuit and power supply circuit and a backlight unit. Graphics and texts can be displayed on a 1280×3×768 dots panel with 262,144 colors by using LVDS (Low Voltage Differential Signaling) to interface and supplying +3.3V DC supply voltage for TFT-LCD panel driving and supply voltage for backlight. This technical literature applies to a color TFT-LCD module, LQ106K1LA03.
Parametrics
LQ106K1LA03 absolute maximum ratings: (1)Input voltage VI Ta=25℃: -0.3V to Vcc+0.3V; (2)+3.3V supply voltage VCC Ta=25℃: 0V to +4.0V; (3)LED forward current ILED Ta=25℃: 0 to 30mA; (4)LED reverse voltage VLED_R Ta=25℃: 5V; (5)Storage temperature Tstg: -20℃ +60℃; (6)Operating temperature (Ambient) Topa: 0℃ +50℃.
Features
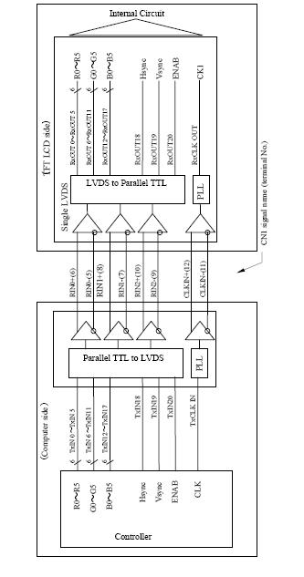
LQ106K1LA03 features: (1)Supply voltage Vcc: +3.0V to +3.6V; (2)Current dissipation Icc: 500mA; (3)Input voltage range VI: 0 to 2.4V LVDS signals; (4)Differential input High VTH: +100mV VCM = +1.2V; (5)threshold voltage Low VTL: 100mV; (6)Input current (High) IOH: ±10μA; (7)Input current (Low) IOL: ±10μA; (8)Terminal resistor RT: 100Ω.
Diagrams

![]() |
![]() LQ101K1LY04 |
![]() Sharp Microelectronics |
![]() TFT Displays & Accessories 10.1" 1280x800 WXGA 400nits LED Bklght |
![]() Data Sheet |
![]()
|
|
||||||
![]() |
![]() LQ104S1DG21 |
![]() Sharp Microelectronics |
![]() TFT Displays & Accessories 10.4" (2 x CCFT) SVGA 350 Nits |
![]() Data Sheet |
![]() Negotiable |
|
||||||
![]() |
![]() LQ104S1DG2A |
![]() Sharp Microelectronics |
![]() TFT Displays & Accessories 10.4" 800X600 SVGA |
![]() Data Sheet |
![]() Negotiable |
|
||||||
![]() |
![]() LQ104S1DG31 |
![]() Sharp Microelectronics |
![]() TFT Displays & Accessories 10.4" 2 x CCFT SVGA 450 nits |
![]() Data Sheet |
![]() Negotiable |
|
||||||
![]() |
![]() LQ104S1DG34 |
![]() Sharp Microelectronics |
![]() TFT Displays & Accessories 10.4" TFT SVGA 800x600 LED Bklight |
![]() Data Sheet |
![]()
|
|
||||||
![]() |
![]() LQ104S1DG61 |
![]() Sharp Microelectronics |
![]() TFT Displays & Accessories |
![]() Data Sheet |
![]() Negotiable |
|
||||||
(China (Mainland))









