Product Summary
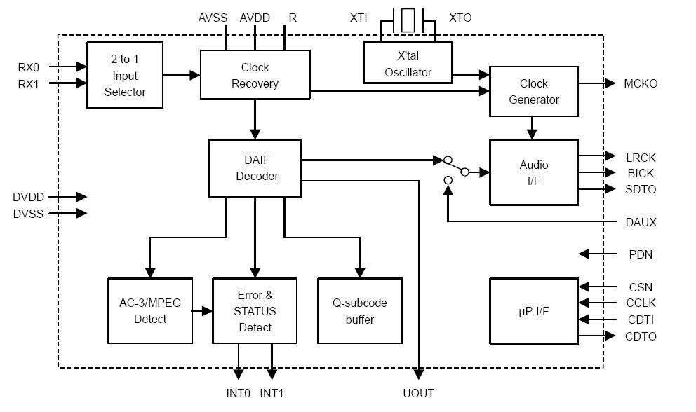
The AK4117V is a S/PDIF AES/EBU receiver supporting sample rates up to 192kHz and resolution up to 24-bit. The integrated channel status decoder supports both consumer and professional modes. The AK4117V can automatically detect a Non-PCM bit stream. Combining the AK4117V with a multi-channel codec such as AKM’s AK4527B or AK4529 can create a complete AC-3 system. Mode settings can be controlled via microprocessor serial interface. A low power mode is available for normal speed modes and the small 24pin VSOP package saves board space.
Parametrics
AK4117VF absolute maximum ratings: (1)Power Supplies: Analog AVDD: -0.3V to 4.6V; (2)Digital DVDD: -0.3V to 4.6V; (3)|AVSS-DVSS| (Note 3) △GND: 0.3V; (4)Input Current (Any pins except supplies) IIN: ±10mA; (5)Input Voltage (Except RX0, RX1 pins): -0.3V to DVDD+0.3V; (6)(RX0, RX1 pins): -0.3V to AVDD+0.3V; (7)Ambient Temperature (Power applied) Ta: -40 to 85℃; (8)Storage Temperature Tstg: -65 to 150℃.
Features
AK4117VF features: (1)AES3, IEC60958, S/PDIF, EIAJ CP1201 Compatible; (2)Low jitter Analog PLL; (3)PLL Lock Range : 32kHz to 192kHz; (4)Clock Source: PLL or X’tal; (5)2-channel Receiver inputs Selector; (6)Auxiliary digital input; (7)Detection Functions; (8)Non-PCM Bit Stream Detection; (9)DTS-CD Bit Stream Detection; (10)Sampling Frequency Detection (32kHz, 44.1kHz, 48kHz, 88.2kHz, 96kHz, 176.4kHz, 192kHz); (11)Unlock & Parity Error Detection; (12)Validity Flag Detection; (13)Up to 24bit Audio Data Format; (14)Audio I/F: Left justified, Right justified (16bit, 18bit, 20bit, 24bit), I2S; (15)40-bit Channel Status Buffer; (16)Burst Preamble bit Pc and Pd Buffer for Non-PCM bit stream; (17)Q-subcode Buffer for CD bit stream; (18)4-wire Serial μP I/F; (19)Master Clock Output: 128fs/256fs/512fs; (20)Operating Voltage: 2.7 to 3.6V; (21)Small Package: 24pin VSOP; (22)Ta: -40 to 85℃.
Diagrams

| Image | Part No | Mfg | Description | ![]() |
Pricing (USD) |
Quantity | ||||||||||||||||||
|---|---|---|---|---|---|---|---|---|---|---|---|---|---|---|---|---|---|---|---|---|---|---|---|---|
![]() |
![]() AK4117VFP-E2 |
![]() |
![]() IC RCVR DGTL AUD 24VSOP |
![]() Data Sheet |
![]()
|
|
||||||||||||||||||
| Image | Part No | Mfg | Description | ![]() |
Pricing (USD) |
Quantity | ||||||||||||||||||
![]() |
![]() AK4101A |
![]() Other |
![]() |
![]() Data Sheet |
![]() Negotiable |
|
||||||||||||||||||
![]() |
![]() AK4101AVQP |
![]() |
![]() IC TX RS422 QUAD 44LQFP |
![]() Data Sheet |
![]()
|
|
||||||||||||||||||
![]() |
![]() AK410-2 |
![]() |
![]() CABLE EXTEN CENT INTERFACE |
![]() Data Sheet |
![]() Negotiable |
|
||||||||||||||||||
![]() |
![]() AK4103A |
![]() Other |
![]() |
![]() Data Sheet |
![]() Negotiable |
|
||||||||||||||||||
![]() |
![]() AK4103AVFP-E2 |
![]() |
![]() IC TX DGTL AUD QD 192KHZ 24VSOP |
![]() Data Sheet |
![]()
|
|
||||||||||||||||||
![]() |
![]() AK4112A |
![]() Other |
![]() |
![]() Data Sheet |
![]() Negotiable |
|
||||||||||||||||||
(China (Mainland))












