Product Summary
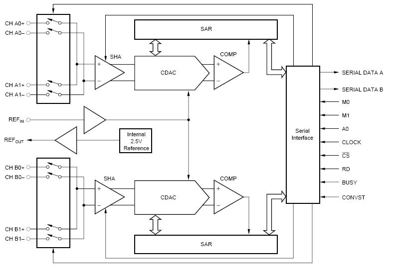
The ADS8361IDBQ is a dual, 16-bit, 500kSPS, Analog-to-Digital (A/D) converter with four fully differential input channels grouped into two pairs for high-speed, simultaneous signal acquisition. Inputs to the sample-and-hold amplifiers are fully differential and are maintained differentially to the input of the A/D converter. This provides excellent common-mode rejection of 80dB at 50 kHz, which is important in high-noise environments. The ADS8361 offers a high-speed, dual serial interface and control inputs to minimize software overhead. The output data for each channel is available as a 16-bit word. The ADS8361IDBQ is offered in SSOP-24 and QFN-32 (5x5) packages and is fully specified over the –40℃ to +85℃ operating range. The applications of the ADS8361IDBQ include motor control, multi-axis positioning systems, 3-phase power control.
Parametrics
ADS8361IDBQ absolute maximum ratings: (1)Supply Voltage, AGND to AVDD:–0.3V to 7V; (2)Supply Voltage, BGND to BVDD:–0.3V to 7V; (3)Analog Input Voltage: AGND–0.3V to AVDD + 0.3V; (4)Reference Input Voltage: AGND–0.3V to AVDD + 0.3V; (5)Digital Input Voltage: BGND– 0.3V to BVDD + 0.3V; (6)Ground Voltage Differences, AGND to BGND: ±0.3V; (7)Voltage Differences, BVDD to AGND:–0.3V to 7V; (8)Input Current to Any Pin Except Supply:–20mA to 20mA; (9)Power Dissipation: See Dissipation Rating Table; (10)Operating Virtual Junction Temperature Range, TJ:–40℃ to 150℃; (11)Operating Free-Air Temperature Range, TA:–40℃ to 85℃; (12)Storage Temperature Range, TSTG:–65℃ to 150℃; (13)Lead Temperature 1.6mm (1/16 inch) from Case for 10s: 260℃.
Features
ADS8361IDBQ features: (1)2 simultaneous 16-bit DACs; (2)4 fully differential input channels; (3)2μs throughput per channel; (4)4μs total throughput for four channels; (5)low power: 150mW; (6)Internal reference; (7)flexible serial interface; (8)16-bit upgrade to the 12-bit ADS7861; (9)pin compatible with the ADS7861.
Diagrams

| Image | Part No | Mfg | Description | ![]() |
Pricing (USD) |
Quantity | ||||||||||||
|---|---|---|---|---|---|---|---|---|---|---|---|---|---|---|---|---|---|---|
![]() |
![]() ADS8361IDBQ |
![]() Texas Instruments |
![]() ADC (A/D Converters) 16-Bit 500 kSPS 2 ADC 4ch ser out |
![]() Data Sheet |
![]()
|
|
||||||||||||
![]() |
![]() ADS8361IDBQG4 |
![]() Texas Instruments |
![]() ADC (A/D Converters) 16-Bit 500 kSPS 2 ADC 4ch ser out |
![]() Data Sheet |
![]()
|
|
||||||||||||
![]() |
![]() ADS8361IDBQR |
![]() Texas Instruments |
![]() ADC (A/D Converters) 16-Bit 500 kSPS 2 ADC 4ch ser out |
![]() Data Sheet |
![]()
|
|
||||||||||||
![]() |
![]() ADS8361IDBQRG4 |
![]() Texas Instruments |
![]() ADC (A/D Converters) 16-Bit 500 kSPS 2 ADC 4ch ser out |
![]() Data Sheet |
![]()
|
|
||||||||||||
(China (Mainland))









