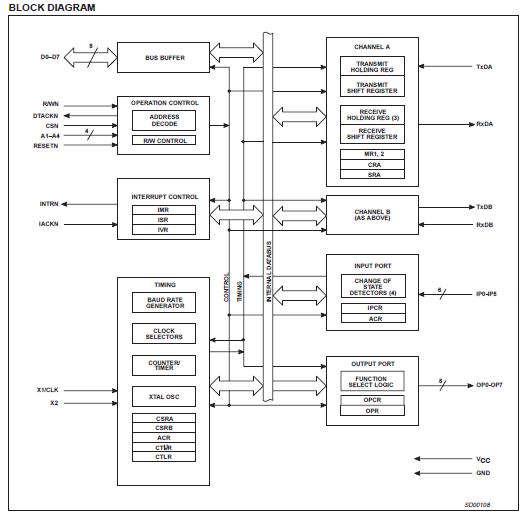
Product Summary
The SCN68681C1N40 is a Dual Universal Asynchronous Receiver/Transmitter (DUART). The SCN68681C1N40 is a single-chip MOS-LSI communications device that provides two independent full-duplex asynchronous receiver/transmitter channels in a single package. It is compatible with other S68000 family devices, and can also interface easily with other microprocessors. The SCN68681C1N40 can be used in polled or interrupt driven systems. The operating mode and data format of each channel can be programmed independently.
Parametrics
SCN68681C1N40 absolute maximum ratings: (1)TA, Operating ambient temperature range2: See Note 4℃; (2)TSTG, Storage temperature range: -65 to +150℃; (3)All voltages with respect to ground3: -0.5 to +6.0 V.
Features
SCN68681C1N40 features: (1)68000 bus compatible; (2)Dual full-duplex asynchronous receiver/transmitter; (3)Quadruple buffered receiver data registers; (4)Programmable data format, 5 to 8 data bits plus parity; Odd, even, no parity or force parity; 1, 1.5 or 2 stop bits programmable in 1/16-bit increments; (5)Programmable baud rate for each receiver and transmitter; (6)selectable from: 22 fixed rates: 50 to 115.2k baud; Non-standard rates to 115.2kb; Non-standard user-defined rate derived from programmable counter/timer; External 1X or 16X clock; (7)16-bit programmable Counter/Timer; (8)Parity, framing, and overrun error detection; (9)False start bit detection; (10)Line break detection and generation; (11)Programmable channel mode; (12)Multi-function programmable 16-bit counter/timer; (13)Multi-function 6-bit input port; (14)Multi-function 8-bit output port; (15)Versatile interrupt system; (16)Maximum data transfer rates: 1X - 1MB/sec, 16X - 125kB/sec; (17)Automatic wake-up mode for multidrop applications; (18)Start-end break interrupt/status; (19)Detects break which originates in the middle of a character; (20)On-chip crystal oscillator; (21)Single +5V power supply; (22)Commercial and industrial temperature ranges available; (23)DIP and PLCC packages.
Diagrams

(China (Mainland))






