Product Summary
The SAB80C535N is an 8-Bit CMOS Single-Chip Microcontroller. It is designed in Siemens ACMOS technology and is functionally compatible with the SAB80C535N device designed in MYMOS technology. In addition, the low-power properties of Siemens ACMOS technology allow applications where power consumption and dissipation are critical. Furthermore, the SAB80C535N has two software-selectable modes of reduced activity for further power reduction: idle and power-down mode.
Parametrics
SAB80C535N absolute maximum ratings: (1)Storage temperature:-65℃ to 150℃; (2)Voltage on VCC pins with respect to ground (VSS):-0.5V to 6.5V; (3) Voltage on any pin with respect to ground (VSS):-0.5V to VCC+0.5V; (4) Input current on any pin during overload condition:-10mA to +10mA; (5) Absolute sum of all input currents during overload condition: |100mA|; (6) Power disipation: 2W.
Features
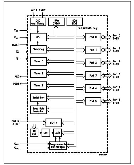
SAB80C535N features: (1)256 × 8 RAM; (2)Six 8-bit I/O ports, one input port for digital or analog input; (3)Three 16-bit timer/counters ; (4)Highly flexible reload, capture, compare capabilities; (5)Full-duplex serial channel; (6)Twelve interrupt vectors, four priority levels ; (7)8-bit A/D converter with 8 multiplexed inputs and programmable internal reference voltages; (8)16-bit watchdog timer; (9)Boolean processor; (10)Most instructions execute in 1μs (750 ns); (11)4μs (3μs) multiply and divide; (12)External memory expandable up to 128 Kbytes; (13)Idle and power-down mode; (14)Plastic leaded chip carrier package:P-LCC-68; (15)Plastic Metric Quad Flat Package:P-MQFP-80.
Diagrams

![]() |
![]() SAB8032 |
![]() Other |
![]() |
![]() Data Sheet |
![]() Negotiable |
|
||||
![]() |
![]() SAB8032A |
![]() Other |
![]() |
![]() Data Sheet |
![]() Negotiable |
|
||||
![]() |
![]() SAB80515 |
![]() Other |
![]() |
![]() Data Sheet |
![]() Negotiable |
|
||||
![]() |
![]() SAB8085AH-2-P |
![]() Other |
![]() |
![]() Data Sheet |
![]() Negotiable |
|
||||
![]() |
![]() SAB8086 |
![]() Other |
![]() |
![]() Data Sheet |
![]() Negotiable |
|
||||
![]() |
![]() SAB8088 |
![]() Other |
![]() |
![]() Data Sheet |
![]() Negotiable |
|
||||
(China (Mainland))








