Product Summary
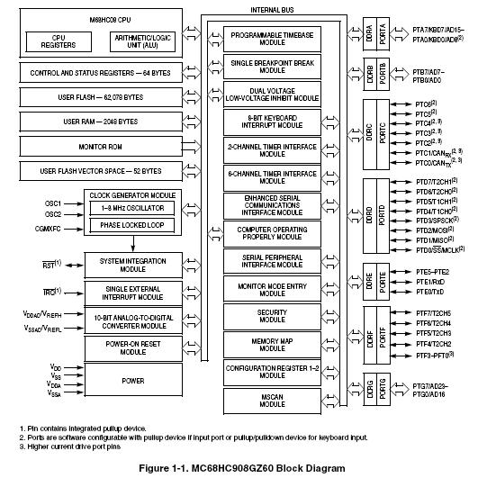
The MC68HC908GZ48MFA is a low-cost, high-performance 8-bit microcontroller unit (MCU). The device in the family uses the enhanced M68HC08 central processor unit (CPU08) and is available with a variety of modules, memory sizes and types, and package types.
Parametrics
MC68HC908GZ48MFA absolute maximum ratings: (1)Supply voltage, VDD: -0.3 to + 6.0 V; (2)Input voltage VIn, VSS: -0.3 to VDD + 0.3 V; (3)Maximum current per pin excluding those specified below, I: ±15mA; (4)Maximum current for pins: ±25mA; (5)Maximum current into VDD, Imvdd: 150mA; (6)Maximum current out of VSS, Imvss: 150mA; (7)Storage temperature, Tstg: -55 to +150℃.
Features
MC68HC908GZ48MFA features: (1)Serial peripheral interface (SPI) module; (2)Enhanced serial communications interface (ESCI) module; (3)One 16-bit, 2-channel timer interface module (TIM1) with selectable input capture, output compare, and pulse-width modulation (PWM) capability on each channel; (4)One 16-bit, 6-channel timer interface module (TIM2) with selectable input capture, output compare, and pulse-width modulation (PWM) capability on each channel; (5)Timebase module with clock prescaler circuitry for eight user selectable periodic real-time interrupts with optional active clock source during stop mode for periodic wakeup from stop using an external crystal; (6)24-channel, 10-bit successive approximation analog-to-digital converter (ADC); (7)8-bit keyboard wakeup port with software selectable rising or falling edge detect, as well as high or low level detection; (8)Up to 53 general-purpose input/output (I/O) pins, including: 40 shared-function I/O pins, depending on package choice; (9)Up to 13 dedicated I/O pins, depending on package choice; (10)Selectable pullups on inputs only on ports A, C, and D. Selection is on an individual port bit basis. During output mode, pullups are disengaged.
Diagrams

(China (Mainland))






