Product Summary
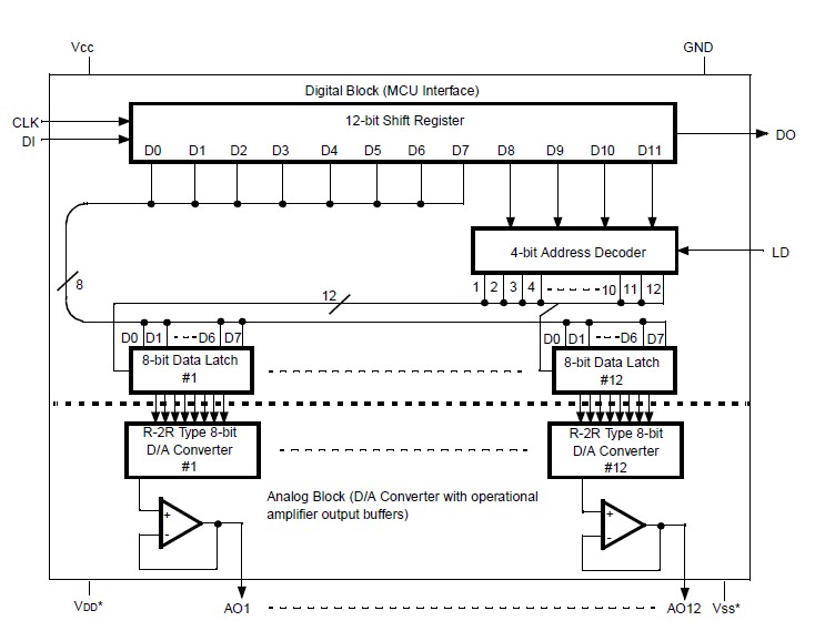
The Fujitsu MB88346BP is an R-2R type 8-bit resolution digital-to-analog converter (DAC), designed for interface with a wide range of general 4-bit and 8-bit microcontrollers including Fujitsu MB88200 family, MB8850 family, and MB88500 family 4-bit single-chip microcontrollers. The MB88346BP has an 8-bit x 12-channel D/A converter with operational amplifier output buffers. Digital data are input serially by individual channel units. The loaded digital data are converted into analog DC voltages by the D/A converter in 20 ms settling time. Also, the MB88346BP has operational amplifier output buffers. These operational amplifier output buffers are connected to each channel of the D/A converter, and provide high current drive capability. The MB88346BP is suitable for electronic volumes and replacement for potentiometers for adjustment, in addition to normal D/A converter applications.
Parametrics
MB88346BP absolute maximum ratings: (1)Input Voltage VIN: -0.3 to Vcc+0.3 V Ta = +25℃; (2)Output Voltage VOUT: -0.3 to Vcc+0.3 V GND = 0 V; (3)Power Dissipation PD: 250 mW; (4)Operating Ambient Temperature Ta: -20 - +85 ℃; (5)Storage Temperature TSTG: -55 to +150 ℃.
Features
MB88346BP features: (1)Conversion method : R-2R resistor ladder; (2)8-bit x 12-channel D/A converter with operational amplifier output buffers; (3)Max. 2.5MHz Serial data input; (4)Serial data output for cascade connection; (5)Max. 20 ms DAC output settling time; (6)Max. +1.0/-1.0mA analog output sink/source current; (7)Two separate power supply/ground lines for MCU interface block/operational amplifier output buffer block and D/A converter block; (8)Pin compatible with MB88341; (9)Single +5V power supply; (10) Wide operating temperature range: -20℃ to +85℃; (11) Silicon-gate CMOS process.
Diagrams

| Image | Part No | Mfg | Description | ![]() |
Pricing (USD) |
Quantity | ||||||||||||||||
|---|---|---|---|---|---|---|---|---|---|---|---|---|---|---|---|---|---|---|---|---|---|---|
![]() |
![]() MB88346BPF-G-BND-JNE1 |
![]() |
![]() IC DAC 8BIT SRL 12CH 20SOP |
![]() Data Sheet |
![]() Negotiable |
|
||||||||||||||||
![]() |
![]() MB88346BPFV-G-BND-ERE1 |
![]() |
![]() IC DAC 8BIT SRL 12CH 20SOP |
![]() Data Sheet |
![]()
|
|
||||||||||||||||
(China (Mainland))









