Product Summary
The MAX172ACNG is a complete 12-bit analog-to-digital converter that combines high speed, low power consumption, and an on-chip voltage reference. The conversion time is 10μs. The MAX172ACNG provides low drift and low noise performance. The applications of the MAX172ACNG include digital signal processing, high accuracy process control, high speed data acquisition, and electro-mechanical systems.
Parametrics
MAX172ACNG absolute maximum ratings: (1)VDD to DGND: -0.3V to +7V; (2)VSS to DGND: +0.3V to -17V; (3)AGND to DGND: -0.3V, VDD +0.3V; (4)AIN to AGND: -15V to +15V; (5)Digital input voltage to DGND: -0.3V, VDD+0.3V; (6)Digital output voltage to DGND: -0.3V, VDD+0.3V; (7)Operating Temperature Ranges: 0℃ to 70℃; (8)Storage Temperature Range: -65℃ to +160℃; (9)Power Dissipation (any package) to +75℃: 1000mW; (10)Derate Above +75℃ by : 10mW/℃; (11)Lead Temperature (soldering 10 seconds): 300℃.
Features
MAX172ACNG features: (1) 12-bit resolution and linearity; (2)10μs conversion time; (3)no missing codes; (4)on-chip voltage reference; (5)90ns Access time; (6)215mW Max power consumption; (7)24-lead Narrow DIP package; (8)Pin-for-pin AD7572 Replacement.
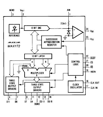
Diagrams

| Image | Part No | Mfg | Description | ![]() |
Pricing (USD) |
Quantity | ||||||||||||
|---|---|---|---|---|---|---|---|---|---|---|---|---|---|---|---|---|---|---|
![]() |
![]() MAX172ACNG+ |
![]() Maxim Integrated Products |
![]() ADC (A/D Converters) 12-Bit 100ksps 5.25V- Precision ADC |
![]() Data Sheet |
![]()
|
|
||||||||||||
![]() |
![]() MAX172ACNG |
![]() Maxim Integrated Products |
![]() ADC (A/D Converters) Integrated Circuits (ICs) |
![]() Data Sheet |
![]() Negotiable |
|
||||||||||||
(China (Mainland))










