Product Summary
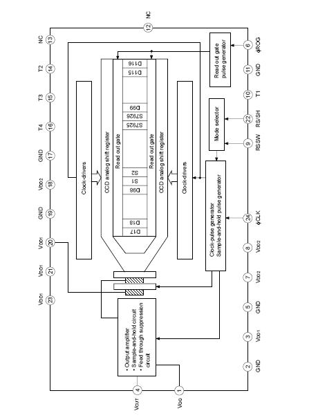
The ILX508A is a reduction type CCD linear sensor developed for high resolution copiers. The ILX508A reads A3-size documents at a density of 600 DPI (Dot Per Inch). A built-in timing generator and clock-drivers ensure direct drive at 5V logic for easy use. In addition reset pulse can switch between internal generation and external input.
Parametrics
ILX508A absolute maximum ratings: (1)Supply voltage VDD1: 11 V; (2)VDD2: 6V; (3)Operation temperature: 0℃ to +60℃; (4)Storage temperature: 0℃ to +80℃.
Features
ILX508A features: (1)Number of effective pixels: 7926 pixels; (2)Pixel size: 7μm×7μm (7μm pitch); (3)Built-in timing generator and clock-drivers; (4)Ultra high sensitivity; (5)Ultra low lag/low dark voltage; (6)Output method; (7)Maximum operating frequency: 12.5MHz.
Diagrams

| Image | Part No | Mfg | Description | ![]() |
Pricing (USD) |
Quantity | ||||
|---|---|---|---|---|---|---|---|---|---|---|
![]() |
![]() ILX508A |
![]() Other |
![]() |
![]() Data Sheet |
![]() Negotiable |
|
||||
| Image | Part No | Mfg | Description | ![]() |
Pricing (USD) |
Quantity | ||||
![]() |
![]() ILX503A |
![]() Other |
![]() |
![]() Data Sheet |
![]() Negotiable |
|
||||
![]() |
![]() ILX505A |
![]() Other |
![]() |
![]() Data Sheet |
![]() Negotiable |
|
||||
![]() |
![]() ILX506 |
![]() Other |
![]() |
![]() Data Sheet |
![]() Negotiable |
|
||||
![]() |
![]() ILX508A |
![]() Other |
![]() |
![]() Data Sheet |
![]() Negotiable |
|
||||
![]() |
![]() ILX510 |
![]() Other |
![]() |
![]() Data Sheet |
![]() Negotiable |
|
||||
![]() |
![]() ILX511 |
![]() Other |
![]() |
![]() Data Sheet |
![]() Negotiable |
|
||||
(China (Mainland))









