Product Summary
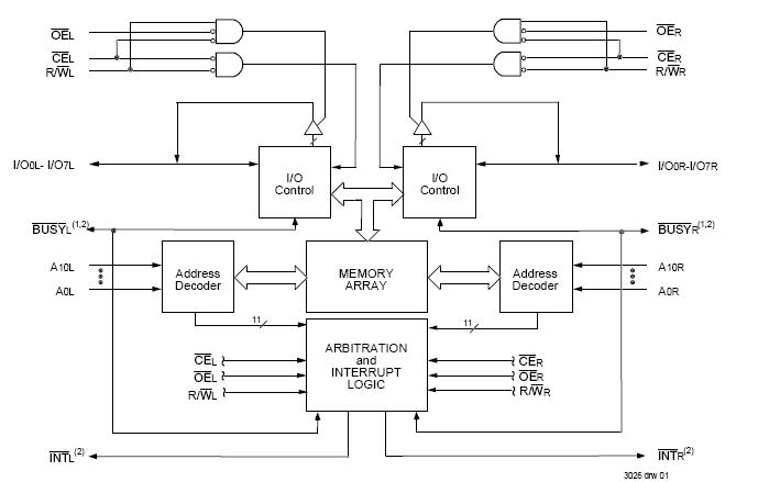
The IDT71V321L35TF is a high-speed 2K x 8 Dual-Port Static RAM with internal interrupt logic for interprocessor communications. The IDT71V321L35TF is designed to be used as a stand-alone 8-bit Dual-Port RAM or as a "MASTER" Dual-Port RAM together with the IDT71V321L35TF "SLAVE" Dual-Port in 16-or-more-bit memory system applications results in full speed, error-free operation without the need for additional discrete logic.
Parametrics
IDT71V321L35TF absolute maximum ratings: (1)VTERM(2) Terminal Voltage with Respect to GND: -0.5 to +4.6V; (2)TA Operating Temperature: 0 to +70℃; (3)TBIAS Temperature Under Bias: -55 to +125℃; (4)TSTG Storage Temperature: -65 to +150℃; (5)IOUT DC Output Current: 50mA.
Features
IDT71V321L35TF features: (1)High-speed access; (2)Low-power operation; (3)Two INT flags for port-to-port communications; (4)MASTER IDT71V321 easily expands data bus width to 16-or-more-bits using SLAVE IDT71V421; (5)On-chip port arbitration logic (IDT71V321 only); (6)BUSY output flag on IDT71V321; BUSY input on IDT71V421; (7)Fully asynchronous operation from either port; (8)Battery backup operation—2V data retention (L only); (9)TTL-compatible, single 3.3V power supply; (10)Available in 52-pin PLCC, 64-pin TQFP and STQFP packages; (11)Industrial temperature range (–40℃ to +85℃) is available; (12)for selected speeds.
Diagrams

| Image | Part No | Mfg | Description | ![]() |
Pricing (USD) |
Quantity | ||||||
|---|---|---|---|---|---|---|---|---|---|---|---|---|
![]() |
![]() IDT71V321L35TF |
![]() |
![]() IC SRAM 16KBIT 35NS 64STQFP |
![]() Data Sheet |
![]()
|
|
||||||
![]() |
![]() IDT71V321L35TF8 |
![]() |
![]() IC SRAM 16KBIT 35NS 64STQFP |
![]() Data Sheet |
![]()
|
|
||||||
(China (Mainland))









