Product Summary
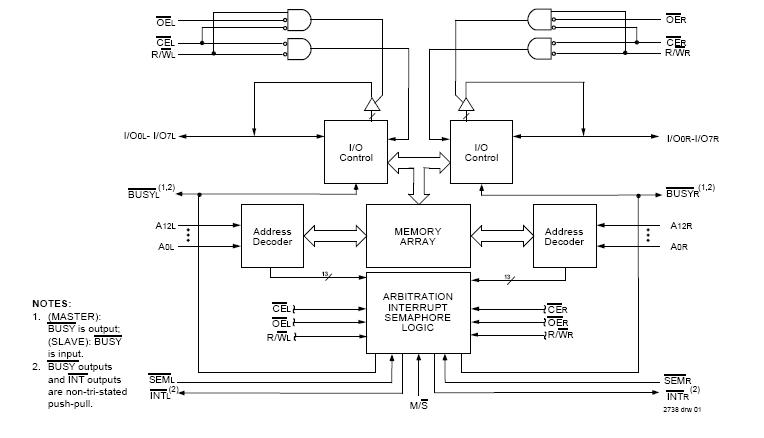
The IDT7005S55PF is a high-speed 8K x 8 Dual-Port Static RAM. The IDT7005S55PF is designed to be used as a stand-alone Dual- Port RAM or as a combination MASTER/SLAVE Dual-Port RAM for 16-bit-or-more word systems. Using the IDT MASTER/SLAVE Dual-Port RAM approach in 16-bit or wider memory system applications results in full-speed, error-free operation without the need for additional discrete logic. The IDT7005S55PF provides two independent ports with separate control, address, and I/O pins that permit independent, asynchronous access for reads or writes to any location in memory. An automatic power down feature controlled by CE permits the on-chip circuitry of each port to enter a very low standby power mode.
Parametrics
IDT7005S55PF absolute maximum ratings: (1)VTERM Terminal Voltage with Respect to GND:–0.5 to +7.0V; (2)TA Operating Temperature: 0 to +70℃; –55 to +125℃; (3)TBIAS Temperature Under Bias:–55 to +125℃;–65 to +135℃; (4)TSTG Storage Temperature:–55 to +125℃;–65 to +150℃; (5)IOUT DC Output Current: 50mA.
Features
IDT7005S55PF features: (1)True Dual-Ported memory cells which allow simultaneous access of the same memory location; (2)High-speed access; (3)Low-power operation; (4)IDT7005 easily expands data bus width to 16 bits or more using the Master/Slave select when cascading more than one device; (5)M/S = H for BUSY output flag on Master, M/S = L for BUSY input on Slave; (6)Busy and Interrupt Flags; (7)On-chip port arbitration logic; (8)Full on-chip hardware support of Semaphore signaling between ports; (9)Fully asynchronous operation from either port; (10)Devices are capable of withstanding greater than 2001V electrostatic discharge; (11)Battery backup operation 2V data retention; (12)TTL-compatible, single 5V (±10%) power supply; (13)Available in 68-pin PGA, 68-pin quad flat-pack, 68-pin PLCC, and a 64-pin TQFP; (14)Industrial temperature range (-40℃ to +85℃) is available, tested to military electrical specifications.
Diagrams

| Image | Part No | Mfg | Description | ![]() |
Pricing (USD) |
Quantity | ||||||
|---|---|---|---|---|---|---|---|---|---|---|---|---|
![]() |
![]() IDT7005S55PF |
![]() |
![]() IC SRAM 64KBIT 55NS 64TQFP |
![]() Data Sheet |
![]()
|
|
||||||
![]() |
![]() IDT7005S55PF8 |
![]() |
![]() IC SRAM 64KBIT 55NS 64TQFP |
![]() Data Sheet |
![]()
|
|
||||||
(China (Mainland))









