Product Summary
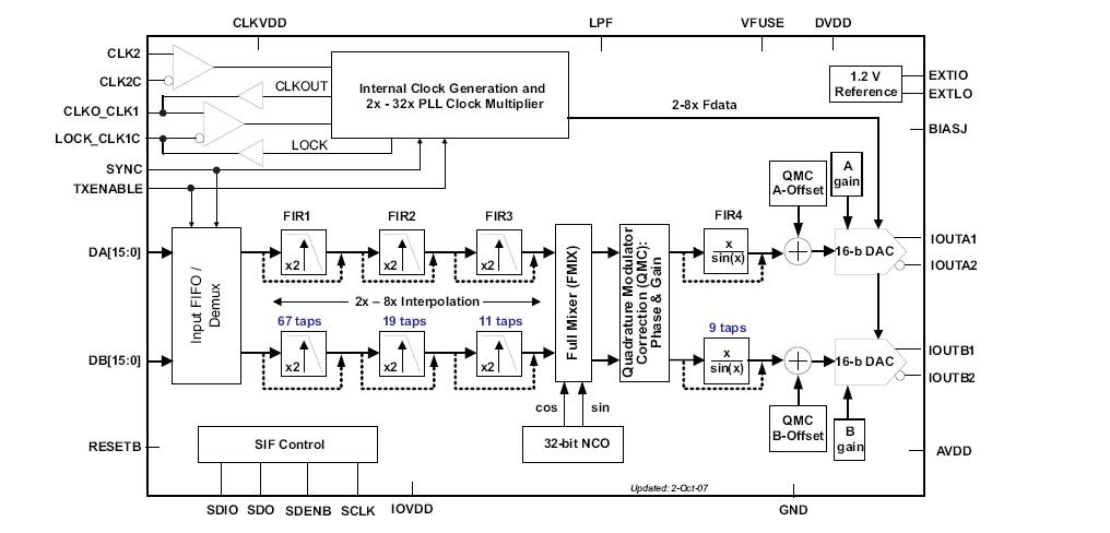
The DAC5688IRGCR is a dual-channel 16-bit 800 MSPS digital-to-analog converter (DAC) with dual CMOS digital data bus, integrated 2x-8x interpolation filters, a fine frequency mixer with 32-bit complex numerically controlled oscillator (NCO), on-board clock multiplier, IQ compensation, and internal voltage reference. Different modes of operation enable or bypass various signal processing blocks. The DAC5688IRGCR offers superior linearity, noise, crosstalk and PLL phase noise performance. The applications of the DAC5688IRGCR include Cellular Base Stations, Broadband Wireless Access (BWA), WiMAX 802.16, Fixed Wireless Backhaul, and Cable Modem Termination System (CMTS).
Parametrics
DAC5688IRGCR absolute maximum ratings: (1)DVDD:–0.5 to 2.3 V; (2)VFUSE:–0.5 to 2.3 V; (3)CLKVDD:–0.5 to 2.3 V; (4)AVDD:–0.5 to 4 V; (5)IOVDD:–0.5 to 4 V; (6)AVDD to DVDD:–2 to 2.6 V; (7)CLKVDD to DVDD:–0.5 to 0.5 V; (8)IOVDD to AVDD:–0.5 to 0.5 V; (9)CLK2, CLK2C:–0.5 to CLKVDD + 0.5 V; (10)CLKO_CLK1, LOCK_CLK1C, SLEEP, TXENABLE:–0.5 to IOVDD + 0.5 V; (11)DA[15..0] ,DB[15..0]:–0.5 to IOVDD + 0.5 V; (12)SDO, SDIO, SCLK, SDENB, RESETB:–0.5 to IOVDD + 0.5 V; (13)IOUTA1/B1, IOUTA2/B2:–0.5 to AVDD + 0.5 V; (14)LPF, EXTIO, EXTLO, BIASJ:–0.5 to AVDD + 0.5 V; (15)Peak input current (any input): 20mA; (16)Peak total input current (all inputs): –30mA; (17)Operating free-air temperature range, TA:–40℃ to 85℃; (18)Storage temperature range:–65℃ to 150℃.
Features
DAC5688IRGCR features: (1)Dual, 16-Bit, 800 MSPS DACs; (2)Dual, 16-Bit, 250 MSPS CMOS Input Data; (3)81dBc ACLR WCDMA TM1 at 70 MHz; (4)2x-32x Clock Multiplying PLL/VCO; (5)Selectable 2x–8x Interpolation Filters; (6)Complex Mixer with 32-Bit NCO; (7)Digital Quadrature Modulator Correction; (8)Digital Inverse SINC Filter; (9)3- or 4-Wire Serial Control Interface; (10)On Chip 1.2-V Reference; (11)Differential Scalable Output: 2 to 20mA; (12)Package: 64-pin 9×9mm QFN.
Diagrams

| Image | Part No | Mfg | Description | ![]() |
Pricing (USD) |
Quantity | ||||||||
|---|---|---|---|---|---|---|---|---|---|---|---|---|---|---|
![]() |
![]() DAC5688IRGCR |
![]() Texas Instruments |
![]() DAC (D/A Converters) 16B 800MSPS 2x-8x Interpol 2Ch DAC |
![]() Data Sheet |
![]()
|
|
||||||||
![]() |
![]() DAC5688IRGCRG4 |
![]() Texas Instruments |
![]() DAC (D/A Converters) 750MSPS 16B 8x Int DAC |
![]() Data Sheet |
![]()
|
|
||||||||
(China (Mainland))









