Product Summary
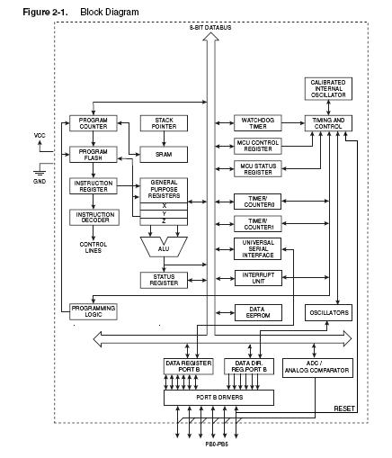
The ATTINY25V-10SU is a low-power CMOS 8-bit microcontroller based on the AVR enhanced RISC architecture. By executing powerful instructions in a single clock cycle, the ATTINY25V-10SU achieves throughputs approaching 1 MIPS per MHz allowing the system designer to optimize power consumption versus processing speed.
Parametrics
ATTINY25V-10SU absolute maximum ratings: (1)power supply voltage (maximum): 5.5 V; (2)power supply voltage (minimum): 1.8 V; (3)Work power voltage: 1.8 V to 5.5 V; (4)maximum service temperature: + 85℃; (5)Minimum work temperature: -40℃; (6)data bus width: 8 bit; (7)Maximum clock frequency: 10 MHz; (8)Program memory size: 4 KB; (9)A/D size: 10 bit.
Features
ATTINY25V-10SU features: (1)High Performance, Low Power AVR 8-Bit Microcontroller; (2)Advanced RISC Architecture; (3)Non-volatile Program and Data Memories; (4)Peripheral Features: 8-bit Timer/Counter with Prescaler and Two PWM Channels; 8-bit High Speed Timer/Counter with Separate Prescaler 2 High Frequency PWM Outputs with Separate Output Compare Registers Programmable Dead Time Generator; Universal Serial Interface with Start Condition Detector; 10-bit ADC, 4 Single Ended Channels; 2 Differential ADC Channel Pairs with Programmable Gain (1x, 20x); Programmable Watchdog Timer with Separate On-chip Oscillator; On-chip Analog Comparator; (5)Special Microcontroller Features: debugWIRE On-chip Debug System; In-System Programmable via SPI Port; External and Internal Interrupt Sources; Low Power Idle, ADC Noise Reduction, and Power-down Modes; Enhanced Power-on Reset Circuit; Programmable Brown-out Detection Circuit; Internal Calibrated Oscillator; (6)I/O and Packages; (7)Operating Voltage; (8)Speed Grade; (9)Industrial Temperature Range; (10)Low Power Consumption.
Diagrams

| Image | Part No | Mfg | Description | ![]() |
Pricing (USD) |
Quantity | ||||||||||||
|---|---|---|---|---|---|---|---|---|---|---|---|---|---|---|---|---|---|---|
![]() |
![]() ATtiny25V-10SU |
![]() Atmel |
![]() 8-bit Microcontrollers (MCU) AVR 2K FLASH 128B EE & SRAM USI ADC |
![]() Data Sheet |
![]()
|
|
||||||||||||
![]() |
![]() ATTINY25V-10SUR |
![]() Atmel |
![]() 8-bit Microcontrollers (MCU) AVR 2KB FLSH 128B EE 128B SRAM-10MHz 1.8V |
![]() Data Sheet |
![]()
|
|
||||||||||||
(China (Mainland))










