Product Summary
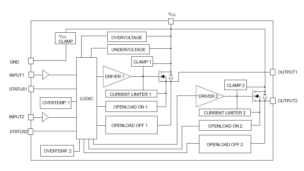
The VNQ810-E is a quad HSD formed by assembling two VND810-E chips in the same SO-28 package. The VNQ810-E is a monolithic device made by using STMicroelectronics VIPower M0-3 Technology, intended for driving any kind of load with one side connected to ground. Active VCC pin voltage clamp protects the device against low energy spikes Active current limitation combined with thermal shutdown and automatic restart protects the VNQ810-E against overload. The device detects open load condition both in on and off state. Output shorted to VCC is detected in the off state. Device automatically turns off in case of ground pin disconnection.
Parametrics
VNQ810-E absolute maximum ratings: (1)VCC DC Supply Voltage: 41V; (2)VCC Reverse DC Supply Voltage: -0.3V; (3)Ignd DC Reverse Ground Pin Current: -200mA; (4)IOUT DC Output Current: Internally Limited A; (5)IOUT Reverse DC Output Current: -6A; (6)IIN DC Input Current: +/- 10mA; (7)ISTAT DC Status Current: +/- 10mA; (8)Maximum Switching Energy: 23mJ; (9)Power dissipation (per island) at T-lead=25℃: 6.25W; (10)Tj Junction Operating Temperature: Internally Limited ℃; (11)Tstg Storage Temperature: - 55 to 150℃.
Features
VNQ810-E features: (1)CMOS compatible inputs; (2)open drain status outputs; (3)on state open load detection; (4)off state open load detection; (5)shorted load protection; (6)undervoltage and overvoltage shutdown; (7)protection against loss of ground; (8)very low stand-by current; (9)reverse battery protection; (10)in compliance with the 2002/95/ec european directive.
Diagrams

| Image | Part No | Mfg | Description | ![]() |
Pricing (USD) |
Quantity | ||||||||||||
|---|---|---|---|---|---|---|---|---|---|---|---|---|---|---|---|---|---|---|
![]() |
![]() VNQ810-E |
![]() STMicroelectronics |
![]() Power Driver ICs Quad Channel Hi-Side |
![]() Data Sheet |
![]() Negotiable |
|
||||||||||||
| Image | Part No | Mfg | Description | ![]() |
Pricing (USD) |
Quantity | ||||||||||||
![]() |
![]() VNQ810 |
![]() STMicroelectronics |
![]() Power Driver ICs Quad Channel Hi-Side |
![]() Data Sheet |
![]()
|
|
||||||||||||
![]() |
![]() VNQ810-E |
![]() STMicroelectronics |
![]() Power Driver ICs Quad Channel Hi-Side |
![]() Data Sheet |
![]() Negotiable |
|
||||||||||||
![]() |
![]() VNQ810M |
![]() STMicroelectronics |
![]() Power Driver ICs Quad Channel Hi-Side |
![]() Data Sheet |
![]()
|
|
||||||||||||
![]() |
![]() VNQ810M13TR |
![]() STMicroelectronics |
![]() Power Driver ICs Quad Channel Hi-Side |
![]() Data Sheet |
![]()
|
|
||||||||||||
![]() |
![]() VNQ810M-E |
![]() STMicroelectronics |
![]() Power Driver ICs Quad Channel Hi-Side |
![]() Data Sheet |
![]()
|
|
||||||||||||
![]() |
![]() VNQ810MTR-E |
![]() STMicroelectronics |
![]() Power Driver ICs Quad Channel Hi-Side |
![]() Data Sheet |
![]()
|
|
||||||||||||
(China (Mainland))









