Product Summary
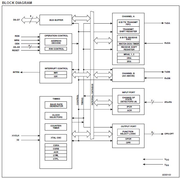
The SC26C92A1B is a Dual universal asynchronous receiver/transmitter. The SC26C92A1B is a pin and function replacement for the SCC2692 and SCN2681 with added features and deeper FIFOs. Its configuration on power up is that of the 2692. Its differences from the 2692 are: 8 character receiver, 8 character transmit FIFOs, watch dog timer for each receiver, mode register 0 is added, extended baud rate and overall faster speeds, programmable receiver and transmitter interrupts. The SC26C92A1B is a single-chip CMOS-LSI communications device that provides two full-duplex asynchronous receiver/transmitter channels in a single package.
Parametrics
SC26C92A1B absolute maximum ratings: (1)TSTG, Storage temperature range: -65 to +150℃; (2)VCC, Voltage from VCC to GND3: -0.5 to +7.0 V; (3)VS, Voltage from any pin to GND3: -0.5 to VCC +0.5 V; (4)PD, Package power dissipation (DIP40): 2.8 W; (5)PD, Package power dissipation (PLCC44): 2.4 W; (6)PD, Package power dissipation (PQFP44): 1.78 W; (7)Derating factor above 25℃ (PDIP40): 22 mW/℃; (8)Derating factor above 25℃ (PLCC44): 19 mW/℃; (9)Derating factor above 25℃ (PQFP44): 14 mW/℃.
Features
SC26C92A1B features: (1)Dual full-duplex independent asynchronous receiver/transmitters; (2)8 character FIFOs for each receiver and transmitter; (3)Programmable data format; (4)16-bit programmable Counter/Timer; (5)Programmable baud rate for each receiver and transmitter; (6)selectable from: 27 fixed rates: 50 to 230.4k baud; Other baud rates to 230.4k baud at 16X; (7)Parity, framing, and overrun error detection; (8)False start bit detection; (9)Line break detection and generation; (10)Programmable channel mode; (11)Multi-function 7-bit input port; (12)Multi-function 8-bit output port; (13)Versatile interrupt system; (14)Maximum data transfer rates: 1X -1Mb/sec, 16X -1Mb/sec; (15)Automatic wake-up mode for multidrop applications; (16)Start-end break interrupt/status; (17)Detects break which originates in the middle of a character; (18)On-chip crystal oscillator; (19)Power down mode; (20)Receiver timeout mode; (21)Single +5V power supply; (22)Powers up to emulate SCC2692.
Diagrams

| Image | Part No | Mfg | Description | ![]() |
Pricing (USD) |
Quantity | ||||||||||||
|---|---|---|---|---|---|---|---|---|---|---|---|---|---|---|---|---|---|---|
![]() |
![]() SC26C92A1B |
![]() NXP Semiconductors |
![]() UART Interface IC 5V 2CH UART IND TEMP |
![]() Data Sheet |
![]() Negotiable |
|
||||||||||||
![]() |
![]() SC26C92A1B,528 |
![]() NXP Semiconductors |
![]() UART Interface IC 5V 2CH UART IND TEMP |
![]() Data Sheet |
![]()
|
|
||||||||||||
![]() |
![]() SC26C92A1B,551 |
![]() NXP Semiconductors |
![]() UART Interface IC 5V 2CH UART IND TEMP |
![]() Data Sheet |
![]()
|
|
||||||||||||
![]() |
![]() SC26C92A1B,557 |
![]() NXP Semiconductors |
![]() UART Interface IC 5V 2CH UART IND TEMP |
![]() Data Sheet |
![]()
|
|
||||||||||||
![]() |
![]() SC26C92A1B-F |
![]() NXP Semiconductors |
![]() UART Interface IC 5V 2CH UART IND TEMP |
![]() Data Sheet |
![]() Negotiable |
|
||||||||||||
![]() |
![]() SC26C92A1B-S |
![]() NXP Semiconductors |
![]() UART Interface IC 5V 2CH UART IND TEMP |
![]() Data Sheet |
![]() Negotiable |
|
||||||||||||
(China (Mainland))










