Product Summary
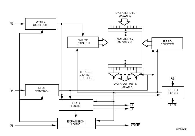
The IDT7208L25PIND is a monolithic dual-port memory buffer with internal pointers that load and empty data on a first-in/first-out basis. The IDT7208L25PIND uses Full and Empty flags to prevent data overflow and underflow and expansion logic to allow for unlimited expansion capability in both word size and depth. The IDT7208L25PIND is fabricated using IDT’s high-speed CMOS technology. It is designed for applications requiring asynchronous and simultaneous read/writes in multiprocessing, rate buffering, and other applications.
Parametrics
IDT7208L25PIND absolute maximum ratings: (1)VTERM Terminal Voltage with Respect to GND: –0.5 to + 7.0V; (2)TA Operating Temperature: 0 to +70℃; (3)TBIAS Temperature Under Bias: –55 to +125℃; (4)TSTG Storage Temperature: –55 to + 125℃; (5)IOUT DC Output Current: 50mA.
Features
IDT7208L25PIND features: (1)65536 x 9 storage capacity; (2)High-speed: 15ns access time; (3)Low power consumption; (4)Active: 660mW (max.); (5)Power-down: 44mW (max.); (6)Asynchronous and simultaneous read and write; (7)Fully expandable in both word depth and width; (8)Pin and functionally compatible with IDT720x family; (9)Status Flags: Empty, Half-Full, Full; (10)Retransmit capability; (11)High-performance CMOS technology; (12)Industrial temperature range (-40℃ to +85℃) is available, tested to military electrical specifications.
Diagrams

(China (Mainland))






