Product Summary
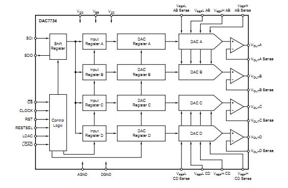
The DAC7734E is a 16-bit, quad voltage output, digital-to-analog converter (DAC) with ensured 16-bit monotonic performance over the specified temperature range. The DAC7734E accepts 24-bit serial input data, has double-buffered DAC input logic (allowing simultaneous update of all DACs), and provides a serial data output for daisy-chaining multiple DACs. Programmable asynchronous reset clears all registers to a mid-scale code of 8000h or to a zero-scale of 0000h. The DAC7734E can operate from a single +15V supply or from +15V and –15V, and +5V supplies. The applications of the DAC7734E include process control, ate pin electronics, closed-loop servo-control, motor control, data acquisition systems and dac-per-pin programmers.
Parametrics
DAC7734E absolute maximum ratings: (1)VCC to VSS: –0.3V to +32V; (2)VCC to AGND: –0.3V to +16V; (3)VSS to AGND: +0.3V to –16V; (4)AGND to DGND: –0.3V to +0.3V; (5)VREFH to AGND: –9V to +11V; (6)VREFL to AGND: –11V to +9V; (7)VDD to GND: –0.3V to +6V; (8)VREFH to VREFL: –1V to 22V; (9)Digital Input Voltage to GND: –0.3V to VDD + 0.3V; (10)Digital Output Voltage to GND: –0.3V to VDD + 0.3V; (11)Maximum Junction Temperature: +150℃; (12)Operating Temperature Range: –40℃ to +85℃; (13)Storage Temperature Range: –65℃ to +150℃; (14)Lead Temperature (soldering, 10s): +300℃.
Features
DAC7734E features: (1)low power: 200mW; (2)unipolar or bipolar operation; (3)single supply output range: +10V; (4)dual supply output range: ±10V; (5)settling time: 10μs to 0.003%; (6)16-bit monotonicity: –40 to +85℃; (7)programmable reset to mid-scale or zero-scale; (8)double-buffered data inputs; (9)±1 LSB DNL: –40 to +85℃.
Diagrams

| Image | Part No | Mfg | Description | ![]() |
Pricing (USD) |
Quantity | ||||||||||||
|---|---|---|---|---|---|---|---|---|---|---|---|---|---|---|---|---|---|---|
![]() |
![]() DAC7734E |
![]() Texas Instruments |
![]() DAC (D/A Converters) 16-Bit Quad Voltage Output Serial Input |
![]() Data Sheet |
![]()
|
|
||||||||||||
![]() |
![]() DAC7734E/1K |
![]() Texas Instruments |
![]() DAC (D/A Converters) 16-Bit Quad Voltage Output Serial Input |
![]() Data Sheet |
![]()
|
|
||||||||||||
![]() |
![]() DAC7734EB |
![]() Texas Instruments |
![]() DAC (D/A Converters) 16-Bit Quad Voltage Output Serial Input |
![]() Data Sheet |
![]()
|
|
||||||||||||
![]() |
![]() DAC7734E/1KG4 |
![]() Texas Instruments |
![]() DAC (D/A Converters) 16-Bit Quad Voltage Output Serial Input |
![]() Data Sheet |
![]()
|
|
||||||||||||
![]() |
![]() DAC7734EB/1K |
![]() Texas Instruments |
![]() DAC (D/A Converters) 16-Bit Quad Voltage Output Serial Input |
![]() Data Sheet |
![]() Negotiable |
|
||||||||||||
![]() |
![]() DAC7734EB/1KG4 |
![]() Texas Instruments |
![]() DAC (D/A Converters) 16B Quad Vltg Output Serial Input DAC |
![]() Data Sheet |
![]() Negotiable |
|
||||||||||||
![]() |
![]() DAC7734EC |
![]() Texas Instruments |
![]() DAC (D/A Converters) 16-Bit Quad Voltage Output Serial Input |
![]() Data Sheet |
![]()
|
|
||||||||||||
![]() |
![]() DAC7734EC/1KG4 |
![]() Texas Instruments |
![]() DAC (D/A Converters) 16-Bit Quad Voltage Output Serial Input |
![]() Data Sheet |
![]()
|
|
||||||||||||
(China (Mainland))









