Product Summary
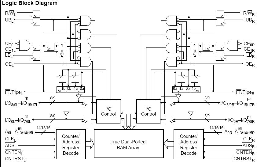
The CY7C09389V-7AC is a 3.3V 16K/32K/64K x 16/18 Synchronous Dual-Port Static RAM. Two ports are provided; permitting independent, simultaneous access for reads and writes to any location in memory. Registers on control, address, and data lines allow for minimal set-up and hold times. In pipelined output mode, data is registered for decreased cycle time. Clock to data valid tCD2 = 6.5 ns (pipelined). Flow-through mode can also be used to bypass the pipelined output register to eliminate access latency. In flow-through mode data will be available tCD1 = 18 ns after the address is clocked into the CY7C09389V-7AC. Pipelined output or flow-through mode is selected via the FT/Pipe pin. Each port of the CY7C09389V-7AC contains a burst counter on the input address register. The internal write pulse width is independent of the LOW to HIGH transition of the clock signal. The internal write pulse is self-timed to allow the shortest possible cycle times.
Parametrics
CY7C09389V-7AC absolute maximum ratings: (1)Storage Temperature:–65℃ to +150℃; (2)Ambient Temperature with Power Applied:–55℃ to +125℃; (3)Supply Voltage to Ground Potential:–0.5V to +4.6V; (4)DC Voltage Applied to Outputs in High Z State:–0.5V to VCC+0.5V; (5)DC Input Voltage:–0.5V to VCC+0.5V; (6)Output Current into Outputs (LOW): 20mA; (7)Static Discharge Voltage: >1100V; (8)Latch-Up Current: >200mA.
Features
CY7C09389V-7AC features: (1)True Dual-Ported memory cells which allow simultaneous access of the same memory location; (2)6 Flow-Through/Pipelined devices; (3)4K x 16/18 organization (CY7C09289V/389V); (4)3 Modes: Flow-Through, Pipelined, Burst; (5)Pipelined output mode on both ports allows fast 100-MHz operation; (6)0.35-micron CMOS for optimum speed/power; (7)High-speed clock to data access 6.5/7.5/9/12 ns (max.); (8)3.3V low operating power; (9)Fully synchronous interface for easier operation; (10)Burst counters increment addresses internally; (11)Dual Chip Enables for easy depth expansion; (12)Upper and Lower Byte Controls for Bus Matching; (13)Automatic power-down; (14)Commercial and Industrial temperature ranges; (15)Available in 100-pin TQFP.
Diagrams

![]() |
![]() CY7C006 |
![]() Other |
![]() |
![]() Data Sheet |
![]() Negotiable |
|
||||||||||||
![]() |
![]() CY7C006A |
![]() Other |
![]() |
![]() Data Sheet |
![]() Negotiable |
|
||||||||||||
![]() |
![]() CY7C006A-15AXC |
![]() Cypress Semiconductor |
![]() SRAM 5V 16Kx8 COM Dual Port SRAM |
![]() Data Sheet |
![]() Negotiable |
|
||||||||||||
![]() |
![]() CY7C006A-15AXCT |
![]() Cypress Semiconductor |
![]() SRAM 5V 16Kx8 COM Dual Port SRAM |
![]() Data Sheet |
![]() Negotiable |
|
||||||||||||
![]() |
![]() CY7C006A-20AC |
![]() |
![]() IC SRAM 16KX8 DUAL 64LQFP |
![]() Data Sheet |
![]() Negotiable |
|
||||||||||||
![]() |
![]() CY7C006A-20AXC |
![]() Cypress Semiconductor |
![]() SRAM 5V 16Kx8 COM Dual Port SRAM |
![]() Data Sheet |
![]()
|
|
||||||||||||
(China (Mainland))










