Product Summary
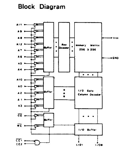
The CXK5864CM-10LL is an 8192-word × 8-bit High Speed CMOS Static RAM. It is organized as 8192 words by 8 bits and operates from a single 5V supply. The CXK5864CM-10LL is suitable for use in speed and low power applications in which battery back up for non-volatility is required.
Parametrics
CXK5864CM-10LL absolute maximum ratings: (1)Supply voltage: -0.5V to +7.0V; (2)Input voltage: -0.5 to VCC +0.5V; (3)Input and output voltage: -0.5V to VCC +0.5V; (4)Allowable power dissipation: 0.7W; (5)Operating temperature: 0 to 70℃; (6)Storage temperature: -55 to +150℃; (7)Soldering temperature · time: 260·10 ℃·sec.
Features
CXK5864CM-10LL features: (1)Fast access time; (2)Low power dissipation; (3)Single power supply 5V: +5V ±10%; (4)Fully static memory: No clock or timing strobe required; (5)Common data input and output: three state output; (6)Directly TTL compatible: All inputs and outputs; (7)Low voltage data retention: 2.0V (Min.); (8)Available in 28 Pin 600mil DIP, 300mil DIP and 450mil SOP.
Diagrams

![]() |
![]() CXK581000AM |
![]() Other |
![]() |
![]() Data Sheet |
![]() Negotiable |
|
||||
![]() |
![]() CXK581000AP |
![]() Other |
![]() |
![]() Data Sheet |
![]() Negotiable |
|
||||
![]() |
![]() CXK581000ATM |
![]() Other |
![]() |
![]() Data Sheet |
![]() Negotiable |
|
||||
![]() |
![]() CXK581000AYM |
![]() Other |
![]() |
![]() Data Sheet |
![]() Negotiable |
|
||||
![]() |
![]() CXK582000M |
![]() Other |
![]() |
![]() Data Sheet |
![]() Negotiable |
|
||||
![]() |
![]() CXK582000TM |
![]() Other |
![]() |
![]() Data Sheet |
![]() Negotiable |
|
||||
(China (Mainland))








