Product Summary
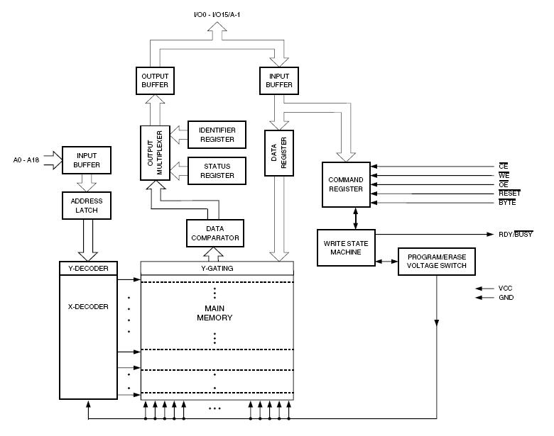
The AT49BV802AT-70TU is a 3-volt 8-megabit Flash memory organized as 524,288 words of 16 bits each or 1,048,576 bytes of 8 bits each. The x16 data appears on I/O0 - I/O15; the x8 data appears on I/O0 - I/O7. The memory is divided into 23 sectors for erase operations. The AT49BV802AT-70TU is offered in a 48-lead TSOP and a 48-ball CBGA package. The device has CE and OE control signals to avoid any bus contention. This device can be read or reprogrammed using a single power supply, making it ideally suited for in-system programming.
Parametrics
AT49BV802AT-70TU absolute maximum ratings: (1)Temperature under Bias: -55℃ to +125℃; (2)Storage Temperature: -65℃ to +150℃; (3)All Input Voltages (including NC Pins) with Respect to Ground: -0.6V to +6.25V; (4) All Output Voltages with Respect to Ground: -0.6V to VCC+ 0.6V; (5) Voltage on VPP with Respect to Ground: -0.6V to +13.0V.
Features
AT49BV802AT-70TU features: (1)Single Voltage Read/Write Operation: 2.65V to 3.6V; (2)Access Time - 70 ns; (3)Sector Erase Architecture, Fifteen 32K Word (64K Bytes) Sectors with Individual Write Lockout; Eight 4K Word (8K Bytes) Sectors with Individual Write Lockout; (4)Fast Byte/Word Program Time - 12μs; (5)Fast Sector Erase Time - 300 ms; (6)Suspend/Resume Feature for Erase and Program; Supports Reading and Programming from Any Sector by Suspending Erase of a Different Sector; Supports Reading Any Byte/Word in the Non-suspending Sectors by Suspending Programming of Any Other Byte/Word; (7)Low-power Operation, 12mA Active; 13μA Standby; (8)Data Polling, Toggle Bit, Ready/Busy for End of Program Detection; (9)RESET Input for Device Initialization; (10)Sector Lockdown Support; (11)TSOP and CBGA Package Options; (12)Top or Bottom Boot Block Configuration Available; (13)128-bit Protection Register; (14)Minimum 100,000 Erase Cycles; (15)Common Flash Interface (CFI).
Diagrams

| Image | Part No | Mfg | Description | ![]() |
Pricing (USD) |
Quantity | ||||
|---|---|---|---|---|---|---|---|---|---|---|
![]() |
![]() AT49BV802AT-70TU |
![]() Atmel |
![]() Flash 8M TOP BOOT-PKG- 8M TOP BOOT |
![]() Data Sheet |
![]() Negotiable |
|
||||
![]() |
![]() AT49BV802AT-70TU SL383 |
![]() |
![]() IC FLASH 8MBIT 70NS 48TSOP |
![]() Data Sheet |
![]() Negotiable |
|
||||
(China (Mainland))










