Product Summary
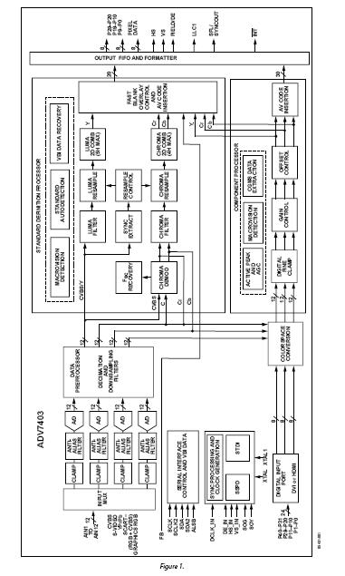
The ADV7403KSTZ is a high quality, single chip, multiformat video decoder and graphics digitizer. This multiformat decoder supports the conversion of PAL, NTSC, and SECAM standards in the form of composite or S-video into a digital ITU-R BT.656 format. The ADV7403KSTZ also supports the decoding of a component RGB/YPrPb video signal into a digital YCrCb or RGB pixel output stream. The support for component video includes standards such as 525i, 625i, 525p, 625p, 720p, 1080i, 1250i, and many other HD and SMPTE standards. Graphic digitization is also supported by the ADV7403; it is capable of digitizing RGB graphics signals from VGA to SXGA rates and converting them into a digital RGB or YCrCb pixel output stream. SCART and overlay functionality are enabled by the ADV7403KSTZ’s ability to simultaneously process CVBS and standard definition RGB signals. The mixing of these signals is controlled by the fast blank pin. The applications of the ADV7403KSTZ include LCD/DLP rear projection HDTVs, PDP HDTVs, CRT HDTVs, LCD/DLP front projectors, LCD TV (HDTV ready), HDTV STBs with PVR, Hard-disk-based video recorders, Multiformat scan converters, DVD recorders with progressive scan input support, AVR receiverGENERAL.
Parametrics
ADV7403KSTZ absolute maximum ratings: (1)AVDD to AGND: 4V; (2)DVDD to DGND: 2.2V; (3)PVDD to AGND: 2.2V; (4)DVDDIO to DGND: 4V; (5)DVDDIO to AVDD: -0.3 V to +0.3 V; (6)PVDD to DVDD: -0.3V to +0.3V; (7)DVDDIO to PVDD: -0.3V to +2V; (8)DVDDIO to DVDD: -0.3V to +2V; (9)AVDD to PVDD: -0.3V to +2V; (10)AVDD to DVDD: -0.3V to +2V; (11)Digital Inputs Voltage to DGND: DGND -0.3 V to DVDDIO + 0.3V; (12)Digital Outputs Voltage to DGND: DGND -0.3 V to DVDDIO + 0.3V; (13)Analog Inputs to AGND: GND -0.3 V to AVDD + 0.3V; (14)Maximum Junction Temperature (TJ MAX): 125℃; (15)Storage Temperature Range: -65°C to +150℃; (16)Infrared Reflow Soldering (20 sec):-260℃
Features
ADV7403KSTZ features: (1)Four Noise Shaped Video?12-bit ADCs sampling up to 140 MHz (140 MHz speed grade only); (2)12 analog input channel mux; (3)SCART fast blank support; (4)Internal antialias filters; (5)NTSC/PAL/SECAM color standards support; (6)525p-/625p-component progressive scan support; (7)720p-/1080i-component HDTV support; (8)Digitizes RGB graphics up to 1280×1024 @ 75Hz (SXGA) (140 MHz speed grade only); (9)24-bit digital input port supports data from DVI/HDMI Rx IC; (10)Any-to-any, 3×3 color-space conversion matrix; (11)Industrial temperature range (-40℃ to +85℃); (12)12-bit 4:4:4/10-/8-bit 4:2:2 DDR pixel output interface; (13)Programmable interrupt request output pin; (14)VBI data slicer (including teletext).
Diagrams

![]() |
![]() ADV7120 |
![]() Other |
![]() |
![]() Data Sheet |
![]() Negotiable |
|
||||
![]() |
![]() ADV7120KP30 |
![]() Analog Devices Inc |
![]() IC DAC VIDEO 3-CH 30MHZ 44PLCC |
![]() Data Sheet |
![]() Negotiable |
|
||||
![]() |
![]() ADV7120KP30-REEL |
![]() Analog Devices Inc |
![]() IC DAC VIDEO 3-CH 30MHZ 44PLCC |
![]() Data Sheet |
![]() Negotiable |
|
||||
![]() |
![]() ADV7120KP50 |
![]() Analog Devices Inc |
![]() IC DAC VIDEO 3-CH 50MHZ 44PLCC |
![]() Data Sheet |
![]() Negotiable |
|
||||
![]() |
![]() ADV7120KP50-REEL |
![]() Analog Devices Inc |
![]() IC DAC VIDEO 3-CH 50MHZ 44PLCC |
![]() Data Sheet |
![]() Negotiable |
|
||||
![]() |
![]() ADV7120KP80 |
![]() Analog Devices Inc |
![]() IC DAC VIDEO 3-CH 80MHZ 44PLCC |
![]() Data Sheet |
![]() Negotiable |
|
||||
(China (Mainland))









