Product Summary
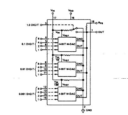
The AD7525KN is a 3 1/2 Digit BCD Monolithic CMOS Digitally Controlled Potentiometer. It is designed for precision incremental voltage-divider applications. The applications of the AD7525KN include Thumbwheel Switch Voltage Dividers, Digital Controlled Gain Circuits, Digitally Controlled Attenuators, BCD Multiplying DACs, and Low Power Converters.
Parametrics
AD7525KN absolute maximum ratings: (1)VDD to GND: -0.3V, +17V; (2)VIN to GND: ±25V; (3)RFB to GND: ±25V; (4)Digital Input Voltage to GND: -0.3V to VDD; (5)VPIN1 to GND: -0.3V to VDD; (6)Power Dissipation Plastic (Suffix N) To +70℃: 670mW; (7)Derates above +70℃ by: 8.3mW/℃; (8)Ceramic (Suffix D) To +75℃: 450mW; (9)Derates above +5℃ by: 6mW/℃; (10)Operating Temperature: 0℃ to 70℃.
Features
AD7525KN features: (1)Resolution: 3 1/2 Digit BCD (1999 Counts); (2)Nonlinearity: ±1/2 LSB Tmin to Tmax; (3)Gain Error: ±0.05% FS; (4)Excellent Repeatability Accuracy; (5)Low Power Dissipation.
Diagrams

![]() |
![]() AD75004 |
![]() Other |
![]() |
![]() Data Sheet |
![]() Negotiable |
|
||||||||||||
![]() |
![]() AD75004KN |
![]() Analog Devices Inc |
![]() IC DAC 12BIT QUAD W/BUFF 24-DIP |
![]() Data Sheet |
![]() Negotiable |
|
||||||||||||
![]() |
![]() AD75004KNZ |
![]() |
![]() IC DAC 12BIT QUAD W/BUFF 24DIP |
![]() Data Sheet |
![]()
|
|
||||||||||||
![]() |
![]() AD75004KP |
![]() |
![]() IC DAC 12BIT QUAD W/BUFF 28-PLCC |
![]() Data Sheet |
![]()
|
|
||||||||||||
![]() |
![]() AD75004KPZ |
![]() |
![]() IC DAC 12BIT QUAD W/BUFF 28-PLCC |
![]() Data Sheet |
![]()
|
|
||||||||||||
![]() |
![]() AD7501 |
![]() Other |
![]() |
![]() Data Sheet |
![]() Negotiable |
|
||||||||||||
(China (Mainland))











