Product Summary
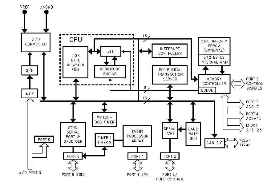
The TN87C196CA is an advanced 16-bit CHMOS microcontroller with integrated CAN 2.0. The TN87C196CB is based upon the MCS 96 Kx/Jx microcontroller product families with enhancements ideal for automotive and industrial applications. The TN87C196CA is the first device in the Kx family to support networking through the integration of the CAN 2.0 (Controller Area Network) peripheral on-chip. The TN87C196CA offers the highest memory density of the MCS 96 microcontroller family, with 56K of on-chip EPROM, 1.5K of on-chip register RAM, and 512 bytes of additional RAM (Code RAM). The TN87C196CA is a sub-set of the CB, offering 32K of on-chip EPROM, up to 1.0K of on-chip register RAM, and 256 bytes of additional RAM (Code RAM).
Parametrics
TN87C196CA absolute maximum ratings: (1)Storage Temperature: -60℃ to +150℃; (2)Voltage from VPP or EA to VSS or ANGND: -0.5V to +13.0V; (3) Voltage from Any Other Pin to VSS or ANGND: -0.5 to +7.0V; (4)This includes VPP on ROM and CPU devices; (5)Power Dissipation: 1.0W.
Features
TN87C196CA features: (1)High Performance CHMOS 16-Bit CPU (up to 20 MHz Operation); (2)Register-Register Architecture; (3)Up to 56 Kbytes of On-Chip EPROM; (4)Up to 1.5 Kbyte of On-Chip Register RAM; (5)Up to 512 Bytes of Additional RAM (Code RAM); (6)Up to 16 Mbyte Linear Address Space; (7)Supports CAN (Controller Area Network) Specification 2.0; (8)15 Message Objects of 8 Bytes Data Length; (9)10-Bit A/D with Sample/Hold; (10)38 Prioritized Interrupts; (11)Up to Seven 8-Bit (60) I/O Ports; (12)Full Duplex Serial Port (SIO) with Dedicated Baudrate Generator; (13)Full Duplex Synchronous Serial I/O Port (SSIO); (14)Interprocessor Communication Slave Port; (15)Selectable Bus Timing Modes for Flexible Interfacing; (16)Oscillator Fail Detection Circuitry; (17)High Speed Peripheral Transaction Server (PTS); (18)Two Dedicated 16-Bit High-Speed Compare Registers; (19)High Speed Capture/Compare (EPA); (20)Two Flexible 16-Bit Timer Counters; (21)Flexible 8-/16-Bit External Bus (Programmable); (22)Programmable Bus (HLD/HLDA); (23)1.4μs 16 x 16 Multiply; (24)2.4μs 32/16 Divide.
Diagrams

| Image | Part No | Mfg | Description | ![]() |
Pricing (USD) |
Quantity | ||||
|---|---|---|---|---|---|---|---|---|---|---|
![]() |
![]() TN87C196CA |
![]() |
![]() IC MCU 16-BIT 5V 32K OTP 68-PLCC |
![]() Data Sheet |
![]() Negotiable |
|
||||
| Image | Part No | Mfg | Description | ![]() |
Pricing (USD) |
Quantity | ||||
![]() |
![]() TN87C196CA |
![]() |
![]() IC MCU 16-BIT 5V 32K OTP 68-PLCC |
![]() Data Sheet |
![]() Negotiable |
|
||||
![]() |
![]() TN87C196CB |
![]() |
![]() IC MCU 16-BIT 5V 56K OTP 84-PLCC |
![]() Data Sheet |
![]() Negotiable |
|
||||
![]() |
![]() TN87C196KB16 |
![]() |
![]() IC MCU 16-BIT 5V 8K OTP 68-PLCC |
![]() Data Sheet |
![]() Negotiable |
|
||||
![]() |
![]() TN87C196KC20 |
![]() |
![]() IC MCU 16-BIT 16K 5V 20 68-PLCC |
![]() Data Sheet |
![]() Negotiable |
|
||||
![]() |
![]() TN87C196NT |
![]() |
![]() IC MCU 16-BIT 5V 32K OTP 68-PLCC |
![]() Data Sheet |
![]() Negotiable |
|
||||
![]() |
![]() TN87C196KD20 |
![]() Other |
![]() |
![]() Data Sheet |
![]() Negotiable |
|
||||
(China (Mainland))









