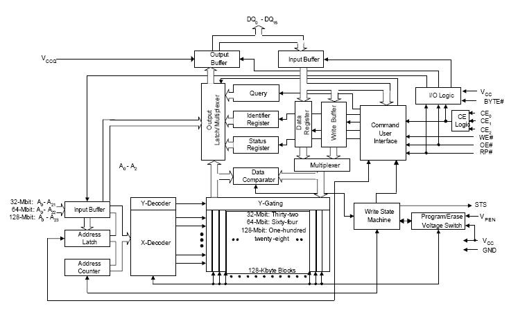
Product Summary
The RC28F640J3D75 is an Embedded Flash Memory. It contains high density memory organized in any of the following configurations. The RC28F640J3D75 includes new security features that were not available on the (previous) 0.25μm and 0.18μm versions of the J3 family. These new security features prevent altering of code through different protection schemes that can be implemented, based on user requirements. The RC28F640J3D75 optimized architecture and interface dramatically increases read performance by supporting page-mode reads. This read mode is ideal for non-clock memory systems.
Parametrics
RC28F640J3D75 absolute maximum ratings: (1)Temperature under Bias Expanded (TA, Ambient): –40 to +85℃; (2)Storage Temperature: –65 to +125℃; (3)VCC Voltage: –2.0 to +5.6V; (4)VCCQ: –2.0 to +5.6V; (5)Voltage on any input/output signal (except VCC, VCCQ): –2.0 to VCCQ (max) + 2.0V; (6)ISH Output Short Circuit Current: 100mA.
Features
RC28F640J3D75 features: (1)High-density symmetrical 128-Kbyte blocks; (2)256Mbit (256 blocks); (3)128Mbit (128 blocks); (4)64Mbit (64 blocks); (5)32Mbit (32 blocks); (6)75 ns Initial Access Speed (128/64/32Mbit densities); (7)95 ns Initial Access Speed (256Mbit only); (8)25 ns 8-word and 4-word Asynchronous page-mode reads; (9)32-Byte Write buffer; (10)4μs per Byte Effective programming time; (11)VCC = 2.7V to 3.6V; (12)VCCQ = 2.7V to 3.6V; (13)Enhanced security options for code protection; (14)128-bit Protection Register; (15)64-bit Unique device identifier; (16)64-bit User-programmable OTP cells; (17)Absolute protection with VPEN = GND; (18)Individual block locking; (19)Block erase/program lockout during power transitions.
Diagrams

| Image | Part No | Mfg | Description | ![]() |
Pricing (USD) |
Quantity | ||||
|---|---|---|---|---|---|---|---|---|---|---|
![]() |
![]() RC28F640J3D75A |
![]() |
![]() IC FLASH 64MBIT 75NS 64EZBGA |
![]() Data Sheet |
![]() Negotiable |
|
||||
![]() |
![]() RC28F640J3D75B |
![]() |
![]() IC FLASH 64MBIT 75NS 64EZBGA |
![]() Data Sheet |
![]() Negotiable |
|
||||
![]() |
![]() RC28F640J3D75D |
![]() |
![]() IC FLASH 64MBIT 75NS 64EZBGA |
![]() Data Sheet |
![]() Negotiable |
|
||||
(China (Mainland))









