Product Summary
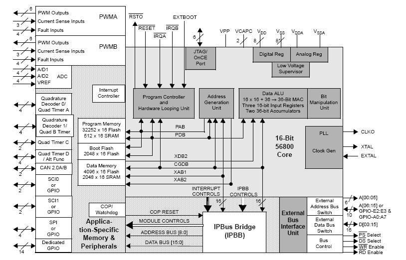
The DSP56F805FV80 is a 16-bit Digital Signal Controller. It combines, on a single chip, the processing power of a DSP and the functionality of a microcontroller with a flexible set of peripherals to create an extremely cost-effective solution. Because of its low cost, configuration flexibility, and compact program code, the DSP56F805FV80 is well-suited for many applications. The DSP56F805FV80 includes many peripherals that are especially useful for applications such as motion control, smart appliances, steppers, encoders, tachometers, limit switches, power supply and control, automotive control, engine management, noise suppression, remote utility metering, and industrial control for power, lighting, and automation.
Parametrics
DSP56F805FV80 absolute maximum ratings: (1)Supply voltage VDD: VSS–0.3 to VSS + 4.0V; (2)All other input voltages, excluding Analog inputs, EXTAL and XTAL VIN: VSS–0.3 to VSS + 5.5V V; (3)Voltage difference VDD to VDDA △VDD: -0.3 to 0.3V; (4)Voltage difference VSS to VSSA △VSS -0.3 to 0.3V; (5)Analog inputs, ANA0-7 and VREF VIN: VSSA–0.3 to VDDA + 0.3V; (6)Analog inputs EXTAL and XTAL VIN: VSSA–0.3 to VSSA+ 3.0V; (7)Current drain per pin excluding VDD, VSS, PWM outputs, TCS, VPP, VDDA, VSSA I: 10mA.
Features
DSP56F805FV80 features: (1)Up to 40 MIPS at 80MHz core frequency; (2)DSP and MCU functionality in a unified, C-efficient architecture; (3)Hardware DO and REP loops; (4)MCU-friendly instruction set supports both DSP and controller functions: MAC, bit manipulation unit, 14 addressing modes; (5)31.5K ?16-bit words (64KB) Program Flash; (6)512x16-bit words (1KB) Program RAM; (7)4K x16-bit words (8KB) Data Flash; (8)2Kx16-bit words (4KB) Data RAM; (9)2K x16-bit words (4KB) Boot Flash; (10)Up to 64Kx16-bit words (128KB) each of external Program and Data memory; (11)Two 6-channel PWM Modules; (12)Two 4-channel, 12-bit ADCs; (13)Two Quadrature Decoders; (14)CAN 2.0 B Module; (15)Two Serial Communication Interfaces (SCIs); (16)Serial Peripheral Interface (SPI); (17)Up to four General Purpose Quad Timers; (18)JTAG/OnCETM port for debugging; (19)14 Dedicated and 18 Shared GPIO lines; (20)144-pin LQFP Package.
Diagrams

| Image | Part No | Mfg | Description | ![]() |
Pricing (USD) |
Quantity | ||||||||||||
|---|---|---|---|---|---|---|---|---|---|---|---|---|---|---|---|---|---|---|
![]() |
![]() DSP56F805FV80 |
![]() Freescale Semiconductor |
![]() Digital Signal Processors & Controllers (DSP, DSC) 80Mhz/ 40MIPS |
![]() Data Sheet |
![]() Negotiable |
|
||||||||||||
![]() |
![]() DSP56F805FV80E |
![]() Freescale Semiconductor |
![]() Digital Signal Processors & Controllers (DSP, DSC) 80Mhz/40MIPS |
![]() Data Sheet |
![]()
|
|
||||||||||||
(China (Mainland))










