Product Summary
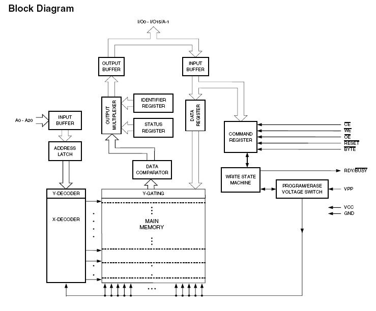
The AT49LV320T-90TI is a 3.0-volt 32-megabit Flash memory organized as 2,097,152 words of 16 bits each or 4,194,304 bytes of 8 bits each. The x16 data appears on I/O0 - I/O15; the x8 data appears on I/O0 - I/O7. The memory is divided into 71 sectors for erase operations. The device is offered in 48-lead TSOP, and 48-ball CBGA and μBGA packages. The AT49LV320T-90TI has CE and OE control signals to avoid any bus contention. This device can be read or reprogrammed using a single power supply, making the AT49LV320T-90TI ideally suited for in-system programming.
Parametrics
AT49LV320T-90TI absolute maximum ratings: (1)Temperature under Bias: -55℃ to +125℃; (2)Storage Temperature: -65℃ to +150℃; (3)All Input Voltages (including NC Pins) with Respect to Ground: -0.6V to +6.25V; (4)All Output Voltages with Respect to Ground: -0.6V to VCC + 0.6V; (5)Voltage on OE and VPP with Respect to Ground: -0.6V to +13.0V.
Features
AT49LV320T-90TI features: (1)Single Voltage Read/Write Operation: 2.65V to 3.3V (BV), 3.0V to 3.6V (LV); (2)Access Time: 85ns; (3)Sector Erase Architecture; (4)Sixty-three 32K Word (64K Bytes) Sectors with Individual Write Lockout; (5)Eight 4K Word (8K Bytes) Sectors with Individual Write Lockout; (6)Fast Word Program Time: 15μs; (7)Fast Sector Erase Time: 200ms; (8)Suspend/Resume Feature for Erase and Program; (9)Supports Reading and Programming from Any Sector by Suspending Erase of a Different Sector; (10)Supports Reading Any Byte/Word by Suspending Programming of Any; (11)Other Byte/Word; (12)Low-power Operation: 25mA Active, 10μA Standby; (13)Data Polling, Toggle Bit, Ready/Busy for End of Program Detection; (14)VPP Pin for Write Protection; (15)RESET Input for Device Initialization; (16)Sector Lockdown Support; (17)Top or Bottom Boot Block Configuration Available; (18)128-bit Protection Register.
Diagrams

| Image | Part No | Mfg | Description | ![]() |
Pricing (USD) |
Quantity | ||||||||||||
|---|---|---|---|---|---|---|---|---|---|---|---|---|---|---|---|---|---|---|
![]() |
![]() AT49LV320T-90TI |
![]() Atmel |
![]() IC FLASH MEM 3V 32M 90NS 48-TSOP |
![]() Data Sheet |
![]() Negotiable |
|
||||||||||||
| Image | Part No | Mfg | Description | ![]() |
Pricing (USD) |
Quantity | ||||||||||||
![]() |
![]() AT490JB |
![]() NKK Switches |
![]() Switch Hardware RND CLR/WH CAP LED |
![]() Data Sheet |
![]() Negotiable |
|
||||||||||||
![]() |
![]() AT490JC |
![]() NKK Switches |
![]() Switch Hardware RND CLR/RED CAP LED |
![]() Data Sheet |
![]() Negotiable |
|
||||||||||||
![]() |
![]() AT490JD |
![]() NKK Switches |
![]() Switch Hardware RND CLR/AMBR CAP LED |
![]() Data Sheet |
![]() Negotiable |
|
||||||||||||
![]() |
![]() AT490JE |
![]() NKK Switches |
![]() Switch Hardware RND CLR/YLW CAP LED |
![]() Data Sheet |
![]()
|
|
||||||||||||
![]() |
![]() AT490JF |
![]() NKK Switches |
![]() Switch Hardware RND CLR/GRN CAP LED |
![]() Data Sheet |
![]() Negotiable |
|
||||||||||||
![]() |
![]() AT494 |
![]() NKK Switches |
![]() Switch Hardware PROTECTIVE GUARD KB |
![]() Data Sheet |
![]()
|
|
||||||||||||
(China (Mainland))














