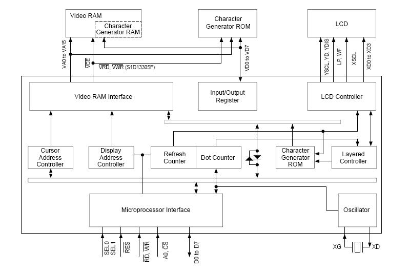
Product Summary
The S1D13A05F00A100 is a controller IC that can display text and graphics on LCD panel. The S1D13A05F00A100 can display layered text and graphics, scroll the display in any direction and partition the display into multiple screens. The S1D13A05F00A100 stores text, character codes and bitmapped graphics data in external frame buffer memory. Display controller functions include transferring data from the controlling microprocessor to the buffer memory, reading memory data, converting data to display pixels and generating timing signals for the buffer memory, LCD panel. The S1D13A05F00A100 has an internal character generator with 160, 5×7 pixel characters in internal mask ROM. The character generators support up to 64, 8×16 pixel characters in external character generator RAM and up to 256, 8×16 pixel characters in external character generator ROM.
Parametrics
S1D13A05F00A100 absolute maximum ratings: (1)Supply voltage range VDD:–0.3 to 7.0V; (2)Input voltage range VIN:–0.3 to VDD + 0.3V; (3)Power dissipation PD: 300mW; (4)Operating temperature range Topg: –20℃ to 75℃; (5)Storage temperature range Tstg: –65℃ to 150℃; (6)Soldering temperature (10 seconds) Tsolder: 260℃.
Features
S1D13A05F00A100 features: (1)Text, graphics and combined text/graphics display modes; (2)Three overlapping screens in graphics mode; (3)Up to 640 ?256 pixel LCD panel display resolution; (4)Programmable cursor control; (5)Smooth horizontal and vertical scrolling of all or part of the display; (6)1/2-duty to 1/256-duty LCD drive; (7)Up to 640×256 pixel LCD panel display resolution memory; (8)160, 5×7 pixel characters in internal mask-programmed character generator ROM; (9)Up to 64, 8 ?16 pixel characters in external character generator RAM; (10)Up to 256, 8 ?16 pixel characters in external character generator ROM; (11)6800 and 8080 family microprocessor interfaces; (12)Low power consumption 3.5mA operating current (VDD = 3.5V), 0.05μA standby current.
Diagrams

| Image | Part No | Mfg | Description | ![]() |
Pricing (USD) |
Quantity | ||||||||||||
|---|---|---|---|---|---|---|---|---|---|---|---|---|---|---|---|---|---|---|
![]() |
![]() S1D13A05F00A100 |
![]() Epson Electronics America |
![]() LCD Drivers (QVGA) 320x240 LCD Controller @ 16bpp |
![]() Data Sheet |
![]()
|
|
||||||||||||
| Image | Part No | Mfg | Description | ![]() |
Pricing (USD) |
Quantity | ||||||||||||
![]() |
![]() S1D13305 |
![]() Other |
![]() |
![]() Data Sheet |
![]() Negotiable |
|
||||||||||||
![]() |
![]() S1D13305F00A1 |
![]() Other |
![]() |
![]() Data Sheet |
![]() Negotiable |
|
||||||||||||
![]() |
![]() S1D13305F00A2 |
![]() Other |
![]() |
![]() Data Sheet |
![]() Negotiable |
|
||||||||||||
![]() |
![]() S1D13305F00B1 |
![]() Other |
![]() |
![]() Data Sheet |
![]() Negotiable |
|
||||||||||||
![]() |
![]() S1D13305F00B2 |
![]() Other |
![]() |
![]() Data Sheet |
![]() Negotiable |
|
||||||||||||
![]() |
![]() S1D13502F00B200 |
![]() Epson Electronics America |
![]() LCD Drivers LCD CONTROLLER |
![]() Data Sheet |
![]() Negotiable |
|
||||||||||||
(China (Mainland))










