Product Summary
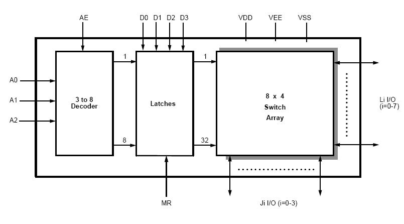
The MT8804AC is a CMOS/LSI 8 x 4 Analog Switch Array incorporating control memory (32 bits), decoder and digital logic level converters. This circuit has digitally controlled analog switches having very low “ON“resistance and very low “OFF” leakage current. Switches will operate with analog signals at frequencies to 40 MHz and up to 15.0Vp-p. A “HIGH“ on the Master Reset input switches all channels “OFF“ and clears the memory. The MT8804AC is ideal for cross point switching applications. The applications of the MT8804AC include PABX and key systems, Data acquisition systems, Test equipment/instrumentation, Analog/digital multiplexers.
Parametrics
MT8804AC absolute maximum ratings: (1)Supply Voltage VDD-VSS: -0.3V to 16V; (2)VDD-VEE: -0.3V to 16V; (3)VSS-VEE: -0.3V to 16V; (4)Analog Input Voltage VINA: VEE-0.3 to VDD+0.3 V; (5)Digital Input Voltage VIN: VSS-0.3 to VDD+0.3 V; (6)Current on any Logic Pin I: 10mA; (7)Storage Temperature TS -65 to +150℃; (8)Package Power Dissipation PLASTIC DIP: 0.6W; (9) CERDIP: 1.2W.
Features
MT8804AC features: (1)Microprocessor compatible control inputs; (2)On chip control memory and address decoding; (3)Row addressing; (4)Master reset; (5)32 crosspoint switches in 8 x 4 array; (6)5.0V to 15.0V operation; (7)Low crosstalk between switches; (8)Low on resistance: 90W (typ.) at 13V; (9)Matched switch characteristics; (10)Switches frequencies up to 40MHz.
Diagrams

(China (Mainland))






